ГОСТ 16984-79 Ключи для круглых шлицевых гаек. Конструкция и размеры
ГОСТ
Скачать ГОСТ в PDF или DOC бесплатно
Основная информация
Обозначение:
ГОСТ 16984-79
Статус:
Действует
Тип:
ГОСТ
Название русское:
Ключи для круглых шлицевых гаек. Конструкция и размеры
Название английское:
Hook wrenchen for round slotted nuts. Design and dimensions
Даты и сроки
Дата издания:
11-01-85
Дата введения в действие:
06-30-80
Дата завершения срока действия:
-
Применение и описание
Область и условия применения:
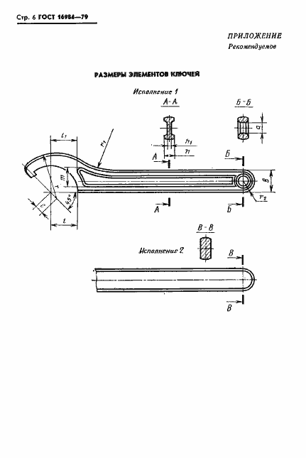
Настоящий стандарт распространяется на ключи для круглых шлицевых гаек с наружными диаметрами от 12 до 250 мм, изготовляемые для нужд народного хозяйства и экспорта
Связи и замены
Заменяющий:
-
Взамен:
ГОСТ 16984-71
Изменения и переиздания
Список изменений:
№1 от (рег. ) «Срок действия продлен»
Описание стандарта
ГОСТ 16984-79 Ключи для круглых шлицевых гаек. Конструкция и размеры
Страницы стандарта








