ГОСТ 16985-79 Ключи шарнирные для круглых шлицевых гаек. Конструкция и размеры
ГОСТ
Скачать ГОСТ в PDF или DOC бесплатно
Основная информация
Обозначение:
ГОСТ 16985-79
Статус:
Действует
Тип:
ГОСТ
Название русское:
Ключи шарнирные для круглых шлицевых гаек. Конструкция и размеры
Название английское:
Jointed hook wrinches for circular spline nuts. Design and dimensions
Даты и сроки
Дата издания:
07-01-86
Дата введения в действие:
06-30-80
Дата завершения срока действия:
-
Применение и описание
Область и условия применения:
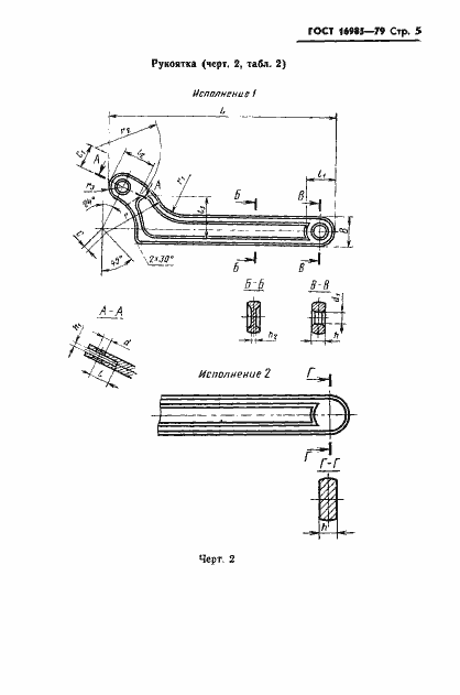
Настоящий стандарт распространяется на шарнирные ключи для круглых шлицевых гаек с наружными диаметрами от 22 до 220 мм и изготовляемые для нужд народного хозяйства и экспорта
Связи и замены
Заменяющий:
-
Взамен:
ГОСТ 16985-71
Изменения и переиздания
Список изменений:
№1 от (рег. ) «Срок действия продлен»
Описание стандарта
ГОСТ 16985-79 Ключи шарнирные для круглых шлицевых гаек. Конструкция и размеры
Страницы стандарта







