ГОСТ 18981-73 Ключи трубные рычажные. Технические условия
ГОСТ
Скачать ГОСТ в PDF или DOC бесплатно
Основная информация
Обозначение:
ГОСТ 18981-73
Статус:
Действует
Тип:
ГОСТ
Название русское:
Ключи трубные рычажные. Технические условия
Название английское:
Pipe toggle wrenches. Specifications
Даты и сроки
Дата издания:
11-01-93
Дата введения в действие:
01-01-75
Дата завершения срока действия:
-
Применение и описание
Область и условия применения:
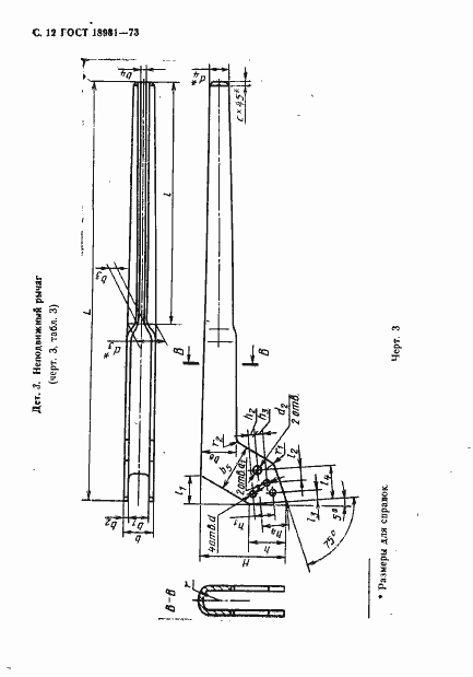
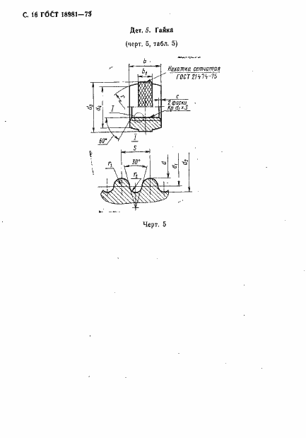
Настоящий стандарт распространяется на трубные рычажные ключи, предназначенные для захватывания и вращения труб и соединительных частей трубопроводов, изготовляемые для нужд народного хозяйства и экспорта. Стандарт не распространяется на ключи, изготовляемые из материалов, применяемых для работы во взрывоопасных условиях
Связи и замены
Заменяющий:
-
Взамен:
ОСТ НКТМ 6813-39
Изменения и переиздания
Список изменений:
№1 от (рег. ) «Срок действия продлен» №2 от (рег. ) «Срок действия продлен» №3 от (рег. ) «Срок действия продлен» №4 от (рег. ) «Срок действия продлен»
Описание стандарта
ГОСТ 18981-73 Ключи трубные рычажные. Технические условия
Страницы стандарта


















