ГОСТ 28037-89 Кусачки. Технические условия
ГОСТ
Скачать ГОСТ в PDF или DOC бесплатно
Основная информация
Обозначение:
ГОСТ 28037-89
Статус:
Действует
Тип:
ГОСТ
Название русское:
Кусачки. Технические условия
Название английское:
Nippers. Specifications
Даты и сроки
Дата издания:
05-31-89
Дата введения в действие:
01-01-90
Дата завершения срока действия:
-
Применение и описание
Область и условия применения:
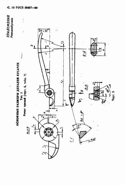
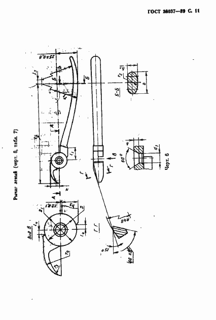
Настоящий стандарт распространяется на кусачки, предназначенные для перекусывания проволоки, без изолирующих и с изолирующими рукоятками, изготавливаемые для нужд народного хозяйства и экспорта. Стандарт не распространяется на многошарнирные кусачки
Связи и замены
Заменяющий:
-
Взамен:
ГОСТ 7282-75;ГОСТ 22308-77
Описание стандарта
ГОСТ 28037-89 Кусачки. Технические условия
Страницы стандарта


















