ГОСТ 4045-75 Тиски слесарные с ручным приводом. Технические условия
ГОСТ
Скачать ГОСТ в PDF или DOC бесплатно
Основная информация
Обозначение:
ГОСТ 4045-75
Статус:
Действует
Тип:
ГОСТ
Название русское:
Тиски слесарные с ручным приводом. Технические условия
Название английское:
Vise with hand driwes. Specifications
Даты и сроки
Дата издания:
09-01-01
Дата введения в действие:
01-01-77
Дата завершения срока действия:
-
Применение и описание
Область и условия применения:
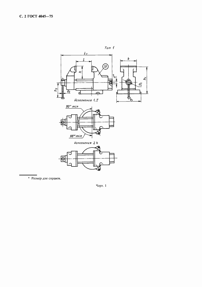
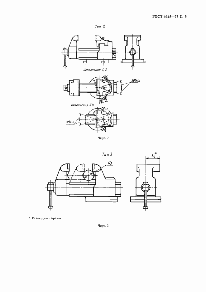
Настоящий стандарт распространяется на слесарные тиски с ручным приводом с шириной губок от 63 до 200 мм, изготовляемые для нужд народного хозяйства и для экспорта. Стандарт не распространяется на слесарные тиски быстросъемные с устройством для крепления типа струбцины, эксцентрика, пневмоприсоса и т. п.
Связи и замены
Заменяющий:
-
Взамен в части:
ГОСТ 4045-57 в части слесарных тисков
Изменения и переиздания
Список изменений:
№1 от (рег. ) «Срок действия продлен» №2 от (рег. ) «Срок действия продлен» №3 от (рег. ) «Срок действия продлен»
Описание стандарта
ГОСТ 4045-75 Тиски слесарные с ручным приводом. Технические условия
Страницы стандарта













