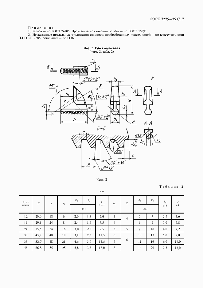
ГОСТ 7275-75 Ключи гаечные разводные. Технические условия
ГОСТ
Скачать ГОСТ в PDF или DOC бесплатно
Основная информация
Обозначение:
ГОСТ 7275-75
Статус:
Утратил силу в РФ
Тип:
ГОСТ
Название русское:
Ключи гаечные разводные. Технические условия
Название английское:
Adjustable wrenches. Specifications
Даты и сроки
Дата издания:
10-01-01
Дата введения в действие:
01-01-78
Дата завершения срока действия:
01-01-13
Применение и описание
Область и условия применения:
Настоящий стандарт распространяется на разводные ключи, изготовляемые для нужд народного хозяйства и экспорта
Связи и замены
Заменяющий:
-
Взамен:
ГОСТ 7275-62
Изменения и переиздания
Список изменений:
№0 от (рег. ) «Поправка к изменению» №1 от (рег. ) «Поправка» №2 от (рег. ) «Срок действия продлен»
Описание стандарта
ГОСТ 7275-75 Ключи гаечные разводные. Технические условия
Страницы стандарта










