ГОСТ IEC 61082-1-2014 Документы, используемые в электротехника. Подготовка. Часть 1. Правила
ГОСТ МЭК
Скачать ГОСТ в PDF или DOC бесплатно
Основная информация
Обозначение:
ГОСТ IEC 61082-1-2014
Статус:
Действует
Тип:
ГОСТ МЭК
Название русское:
Документы, используемые в электротехника. Подготовка. Часть 1. Правила
Название английское:
Preparation of documents used in electrotechnology. Part 1. Rules
Даты и сроки
Дата регистрации:
09-30-14
Дата издания:
06-29-20
Дата введения в действие:
10-01-15
Дата завершения срока действия:
-
Применение и описание
Область и условия применения:
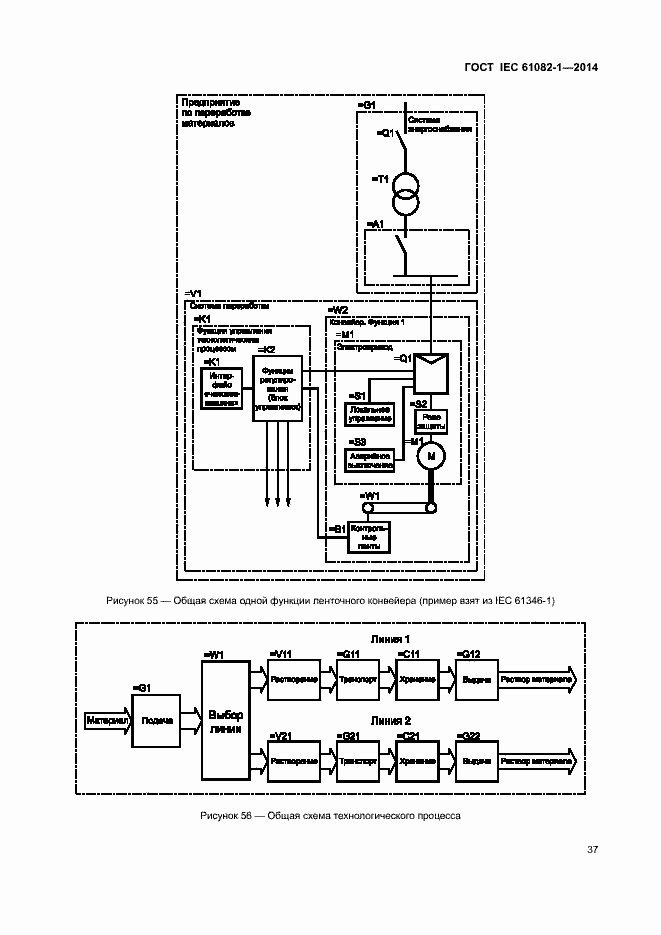
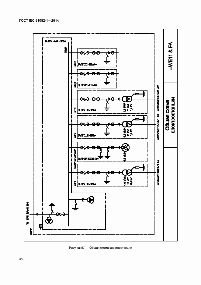
В настоящей части IEC 61082 излагаются общие правила и рекомендации по представлению информации в документах, а также специальные правила оформления схем, чертежей и таблиц, используемых в электротехнике
Связи и замены
Заменяющий:
-
Описание стандарта
ГОСТ IEC 61082-1-2014 Документы, используемые в электротехника. Подготовка. Часть 1. Правила
Страницы стандарта





























































































