ГОСТ 21639.7-93 Флюсы для электрошлакового переплава. Методы определения фтористого кальция
ГОСТ
Скачать ГОСТ в PDF или DOC бесплатно
Основная информация
Обозначение:
ГОСТ 21639.7-93
Статус:
Действует
Тип:
ГОСТ
Название русское:
Флюсы для электрошлакового переплава. Методы определения фтористого кальция
Название английское:
Fluxes for electroslag remelting. Methods for determination of calcium fluoride
Даты и сроки
Дата регистрации:
02-17-93
Дата издания:
10-12-95
Дата введения в действие:
01-01-96
Дата завершения срока действия:
-
Применение и описание
Область и условия применения:
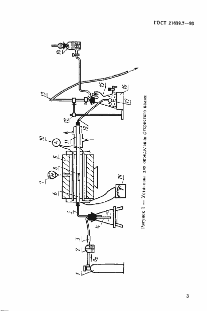
Настоящий стандарт устанавливает пирогидролизный и титриметрический методы определения фтористого кальция в флюсах для электрошлакового переплава при массовой доле от 8 до 95%
Связи и замены
Заменяющий:
-
Взамен:
ГОСТ 21639.7-76
Описание стандарта
ГОСТ 21639.7-93 Флюсы для электрошлакового переплава. Методы определения фтористого кальция
Страницы стандарта












