ГОСТ 29091-91 Горелки ручные газовоздушные инжекторные. Технические требования и методы испытаний
ГОСТ
Скачать ГОСТ в PDF или DOC бесплатно
Основная информация
Обозначение:
ГОСТ 29091-91
Статус:
Действует
Тип:
ГОСТ
Название русское:
Горелки ручные газовоздушные инжекторные. Технические требования и методы испытаний
Название английское:
Air-aspirated hand blowpipes. Requirements and test methods
Даты и сроки
Дата издания:
12-09-91
Дата введения в действие:
06-30-92
Дата завершения срока действия:
-
Применение и описание
Область и условия применения:
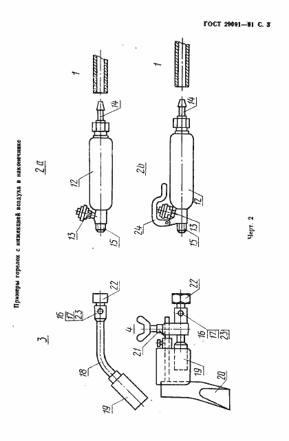
Настоящий стандарт распространяется на ручные горелки для пайки твердыми и мягкими припоями, подогрева, плавления и других подобных термических процессов, в которых используется горючий газ и всасываемый из атмосферы воздух (горелки инжекторного типа). Стандарт не распространяется на горелки, в которых горючее выходит из инжектора в жидком состоянии, а также на горелки, в которых источник газа прикреплен непосредственно к горелке
Связи и замены
Заменяющий:
-
Описание стандарта
ГОСТ 29091-91 Горелки ручные газовоздушные инжекторные. Технические требования и методы испытаний
Страницы стандарта













