ГОСТ 6996-66 Сварные соединения. Методы определения механических свойств
ГОСТ
Скачать ГОСТ в PDF или DOC бесплатно
Основная информация
Обозначение:
ГОСТ 6996-66
Статус:
Действует
Тип:
ГОСТ
Название русское:
Сварные соединения. Методы определения механических свойств
Название английское:
Welded joints. Methods of mechanical properties determination
Даты и сроки
Дата издания:
11-01-06
Дата введения в действие:
01-01-67
Дата завершения срока действия:
-
Применение и описание
Область и условия применения:
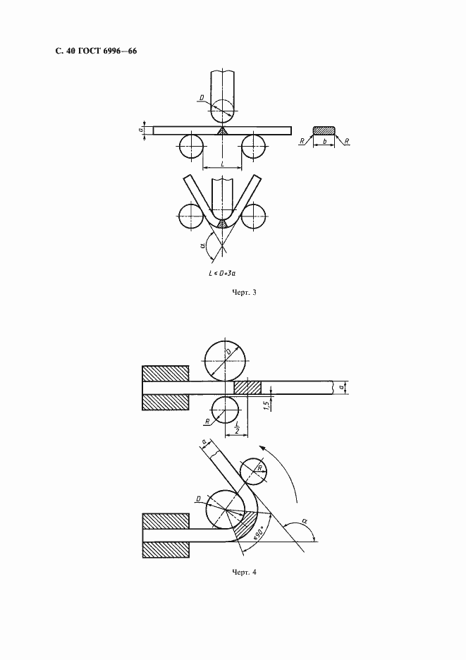
Настоящий стандарт устанавливает методы определения механических свойств сварного соединения в целом и его отдельных участков, а также наплавленного металла при всех видах сварки металлов и их сплавов. Настоящий стандарт распространяется на испытания, проводимые при определении качества продукции и сварочных материалов, пригодности способов и режимов сварки, при установлении квалификации сварщиков и показателей свариваемости металлов и сплавов
Связи и замены
Заменяющий:
-
Взамен:
ГОСТ 6996-54
Изменения и переиздания
Список изменений:
№1 от (рег. ) «Срок действия продлен» №2 от (рег. ) «Срок действия продлен» №3 от (рег. ) «Срок действия продлен» №4 от (рег. ) «Текстовое изменение; Изменены ссылочные НД»
Описание стандарта
ГОСТ 6996-66 Сварные соединения. Методы определения механических свойств
Страницы стандарта













































Приложение №4: Изменение №4 к ГОСТ 6996-66 Обозначение: Изменение №4 к ГОСТ 6996-66 Дата введения в действие: 01.01.2005

Приложение №4: Изменение №4 к ГОСТ 6996-66 Обозначение: Изменение №4 к ГОСТ 6996-66 Дата введения в действие: 01.01.2005

Приложение №4: Изменение №4 к ГОСТ 6996-66 Обозначение: Изменение №4 к ГОСТ 6996-66 Дата введения в действие: 01.01.2005

Приложение №4: Изменение №4 к ГОСТ 6996-66 Обозначение: Изменение №4 к ГОСТ 6996-66 Дата введения в действие: 01.01.2005

Приложение №4: Изменение №4 к ГОСТ 6996-66 Обозначение: Изменение №4 к ГОСТ 6996-66 Дата введения в действие: 01.01.2005

Приложение №4: Изменение №4 к ГОСТ 6996-66 Обозначение: Изменение №4 к ГОСТ 6996-66 Дата введения в действие: 01.01.2005

Приложение №4: Изменение №4 к ГОСТ 6996-66 Обозначение: Изменение №4 к ГОСТ 6996-66 Дата введения в действие: 01.01.2005

Приложение №4: Изменение №4 к ГОСТ 6996-66 Обозначение: Изменение №4 к ГОСТ 6996-66 Дата введения в действие: 01.01.2005

Приложение №4: Изменение №4 к ГОСТ 6996-66 Обозначение: Изменение №4 к ГОСТ 6996-66 Дата введения в действие: 01.01.2005

Приложение №4: Изменение №4 к ГОСТ 6996-66 Обозначение: Изменение №4 к ГОСТ 6996-66 Дата введения в действие: 01.01.2005

Приложение №4: Изменение №4 к ГОСТ 6996-66 Обозначение: Изменение №4 к ГОСТ 6996-66 Дата введения в действие: 01.01.2005

Приложение №4: Изменение №4 к ГОСТ 6996-66 Обозначение: Изменение №4 к ГОСТ 6996-66 Дата введения в действие: 01.01.2005

Приложение №4: Изменение №4 к ГОСТ 6996-66 Обозначение: Изменение №4 к ГОСТ 6996-66 Дата введения в действие: 01.01.2005

Приложение №4: Изменение №4 к ГОСТ 6996-66 Обозначение: Изменение №4 к ГОСТ 6996-66 Дата введения в действие: 01.01.2005

Приложение №4: Изменение №4 к ГОСТ 6996-66 Обозначение: Изменение №4 к ГОСТ 6996-66 Дата введения в действие: 01.01.2005

Приложение №4: Изменение №4 к ГОСТ 6996-66 Обозначение: Изменение №4 к ГОСТ 6996-66 Дата введения в действие: 01.01.2005

Приложение №4: Изменение №4 к ГОСТ 6996-66 Обозначение: Изменение №4 к ГОСТ 6996-66 Дата введения в действие: 01.01.2005
