ГОСТ Р 54790-2011 Испытания разрушающие сварных швов металлических материалов. Испытания на сопротивляемость образованию горячих трещин в сварных соединениях. Процессы дуговой сварки. Часть 3. Испытания с приложением внешней нагрузки
ГОСТ Р
Скачать ГОСТ в PDF или DOC бесплатно
Основная информация
Обозначение:
ГОСТ Р 54790-2011
Статус:
Действует
Тип:
ГОСТ Р
Название русское:
Испытания разрушающие сварных швов металлических материалов. Испытания на сопротивляемость образованию горячих трещин в сварных соединениях. Процессы дуговой сварки. Часть 3. Испытания с приложением внешней нагрузки
Название английское:
Destructive tests on welds in metallic materials. Hot cracking tests for weldments. Arc welding processes. Part 3. Externally loaded tests
Даты и сроки
Дата издания:
06-29-20
Дата введения в действие:
01-01-13
Дата завершения срока действия:
-
Применение и описание
Область и условия применения:
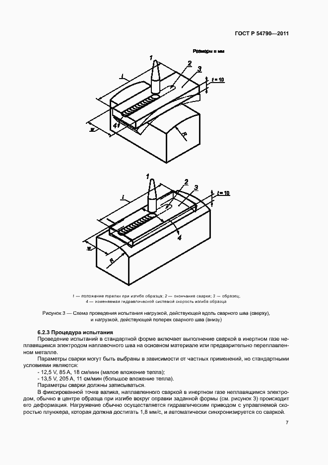
Настоящий стандарт определяет методы и процедуры испытаний сварных соединений с приложением внешней нагрузки для оценки сопротивляемости образованию горячих трещин. Установлены следующие испытания: - на растяжение в горячем состоянии; - с приложением нагрузок, действующих вдоль и поперек сварного шва; - на плоскостное растяжение. Указанные испытания могут предоставлять информацию о сопротивляемости образованию горячих трещин основных материалов, металла сварных швов и сварных соединений. Оценка основывается на измерении «интервала температур хрупкости» (BTR), в котором возникают трещины
Связи и замены
Заменяющий:
-
Описание стандарта
ГОСТ Р 54790-2011 Испытания разрушающие сварных швов металлических материалов. Испытания на сопротивляемость образованию горячих трещин в сварных соединениях. Процессы дуговой сварки. Часть 3. Испытания с приложением внешней нагрузки
Страницы стандарта















