ГОСТ 27881-88 Печи с шагающим подом и печи с шагающими балками для нагрева черных металлов. Удельный расход энергии
ГОСТ
Скачать ГОСТ в PDF или DOC бесплатно
Основная информация
Обозначение:
ГОСТ 27881-88
Статус:
Действует
Тип:
ГОСТ
Название русское:
Печи с шагающим подом и печи с шагающими балками для нагрева черных металлов. Удельный расход энергии
Название английское:
Walking-hearth furnaces and walking-beam furnaces for iron-and-steel heating. Specific energy consumption
Даты и сроки
Дата издания:
03-01-06
Дата введения в действие:
01-01-90
Дата завершения срока действия:
-
Применение и описание
Область и условия применения:
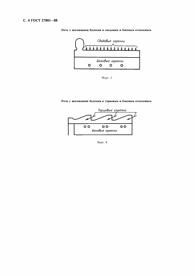
Настоящий стандарт распространяется на вновь сооружаемые печи с шагающим подом и печи с шагающими балками производительностью 30 т/ч и более, отапливаемые газообразным или жидким топливом в смеси с воздухом и предназначенные для нагрева стальных заготовок (блюмов, слябов, круглых и квадратных заготовок) под обработку давлением, и устанавливает расход топлива (тепловой энергии) на 1 т металла за цикл нагрева. Настоящий стандарт не распространяется на печи с шагающими балками с верхним отоплением, печи с шагающим подом двухстадийного нагрева и комбинированные печи с шагающим подом и шагающими балками одновременно
Связи и замены
Заменяющий:
-
Описание стандарта
ГОСТ 27881-88 Печи с шагающим подом и печи с шагающими балками для нагрева черных металлов. Удельный расход энергии
Страницы стандарта






