ГОСТ 9.505-86 Единая система защиты от коррозии и старения. Ингибиторы кислотной коррозии. Методы испытаний защитной способности при кислотном травлении металлов
ГОСТ
Скачать ГОСТ в PDF или DOC бесплатно
Основная информация
Обозначение:
ГОСТ 9.505-86
Статус:
Действует
Тип:
ГОСТ
Название русское:
Единая система защиты от коррозии и старения. Ингибиторы кислотной коррозии. Методы испытаний защитной способности при кислотном травлении металлов
Название английское:
Unified system of corrosion and ageing protection. Inhibitors of acid corrosion. Methods of testing the protective ability during acid pickling of metals
Даты и сроки
Дата издания:
01-04-87
Дата введения в действие:
06-30-87
Дата завершения срока действия:
-
Применение и описание
Область и условия применения:
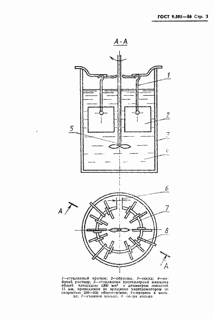
Настоящий стандарт устанавливает методы сравнительных лабораторных, а также эксплуатационных испытаний для оценки защитной способности ингибиторов кислотной коррозии (далее ингибиторы), применяемых при травлении черных металлов в минеральных кислотах
Связи и замены
Заменяющий:
-
Описание стандарта
ГОСТ 9.505-86 Единая система защиты от коррозии и старения. Ингибиторы кислотной коррозии. Методы испытаний защитной способности при кислотном травлении металлов
Страницы стандарта















