ГОСТ 9.506-87 Единая система защиты от коррозии и старения. Ингибиторы коррозии металлов в водно-нефтяных средах. Методы определения защитной способности
ГОСТ
Скачать ГОСТ в PDF или DOC бесплатно
Основная информация
Обозначение:
ГОСТ 9.506-87
Статус:
Действует
Тип:
ГОСТ
Название русское:
Единая система защиты от коррозии и старения. Ингибиторы коррозии металлов в водно-нефтяных средах. Методы определения защитной способности
Название английское:
Unified system of corrosion and ageing protection. Corrosion inhibitors of metals in water-petroleum environments. Methods of protective ability evaluation
Даты и сроки
Дата издания:
01-19-88
Дата введения в действие:
06-30-88
Дата завершения срока действия:
-
Применение и описание
Область и условия применения:
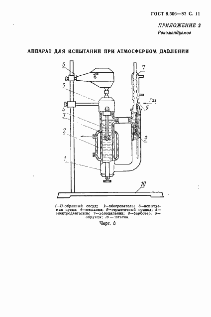
Настоящий стандарт распределяется на ингибиторы коррозии металлов (далее - ингибиторы), применяемые в нефтяной промышленности для защиты от коррозии конструкционных металлов нефтепромыслового оборудования и коммуникаций в водно-нефтяных средах, и устанавливает для метода определения их защитной способности при сплошной коррозии: электрохимический - для качественной предварительной и сравнительной оценки защитной способности ингибиторов в водной части испытуемой среды; гравиметрический - для количественной оценки защитной способности ингибиторов и выдачи рекомендаций к стендовым испытаниям наиболее эффективных ингибиторов.
Связи и замены
Заменяющий:
-
Описание стандарта
ГОСТ 9.506-87 Единая система защиты от коррозии и старения. Ингибиторы коррозии металлов в водно-нефтяных средах. Методы определения защитной способности
Страницы стандарта
















