ГОСТ 9.602-89 Единая система защиты от коррозии и старения. Сооружения подземные. Общие требования к защите от коррозии
ГОСТ
Скачать ГОСТ в PDF или DOC бесплатно
Основная информация
Обозначение:
ГОСТ 9.602-89
Статус:
Заменен
Тип:
ГОСТ
Название русское:
Единая система защиты от коррозии и старения. Сооружения подземные. Общие требования к защите от коррозии
Название английское:
Unified system of corrosion and ageing protection. Underground structures. General requirements for corrosion protection
Даты и сроки
Дата издания:
10-01-97
Дата введения в действие:
01-01-91
Дата завершения срока действия:
01-01-07
Применение и описание
Область и условия применения:
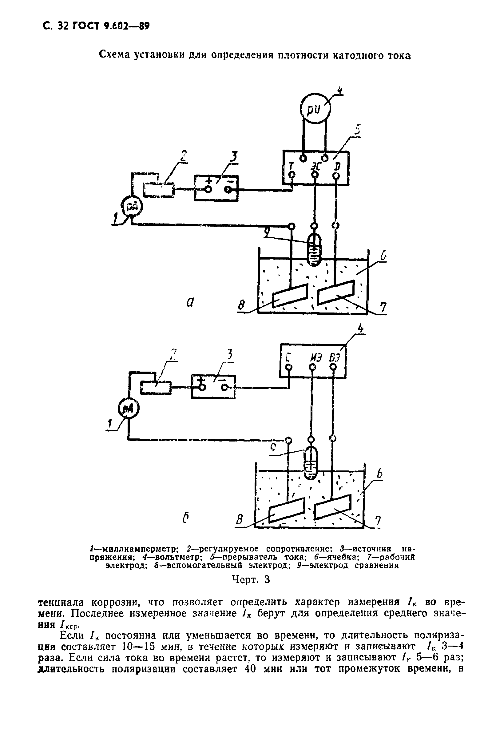
Стандарт устанавливает общие требования к защите от коррозии наружных поверхностей подземных металлических сооружений: трубопроводов и резервуаров (в том числе траншейных) из углеродистых и низколегированных сталей; электрических силовых кабелей напряжением до 10 кВ включительно, кабелей связи и сигнализации, стальных конструкций необслуживаемых усилительных и регенерационных пунктов линий связи, а также требования к объектам, являющимся источниками блуждающих токов: электрифицированный рельсовый транспорт, линии передач энергии постоянного тока по системе "провод-земля", промышленные предприятия, потребляющие постоянный электрический ток в технологических целях. Стандарт не распространяется на тепловые сети, кабели связи со стальной гофрированной оболочкой и защитным покровом шлангового типа, железобетонные и чугунные сооружения всех назначений, коммуникации, прокладываемые в туннелях и коллекторах, сваи, шпунты и другие подобные металлические сооружения, а также на металлические сооружения, расположенные в многолетнемерзлых и скальных грунтах
Связи и замены
Заменяющий:
ГОСТ 9.602-2005
Взамен:
ГОСТ 9.015-74
Изменения и переиздания
Список изменений:
№1 от (рег. ) «Срок действия продлен»
Описание стандарта
ГОСТ 9.602-89 Единая система защиты от коррозии и старения. Сооружения подземные. Общие требования к защите от коррозии
Страницы стандарта

































































