ГОСТ 30575-98 Дизели судовые, тепловозные и промышленные. Методы измерения и оценки воздушного шума
ГОСТ
Скачать ГОСТ в PDF или DOC бесплатно
Основная информация
Обозначение:
ГОСТ 30575-98
Статус:
Действует
Тип:
ГОСТ
Название русское:
Дизели судовые, тепловозные и промышленные. Методы измерения и оценки воздушного шума
Название английское:
Marine, lokomotive and industrial diesel engines. Methods of measuring and estimating airborne noise
Даты и сроки
Дата регистрации:
11-12-98
Дата издания:
05-25-99
Дата введения в действие:
01-01-00
Дата завершения срока действия:
-
Применение и описание
Область и условия применения:
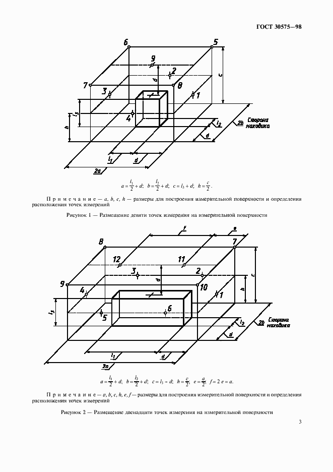
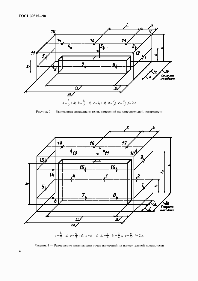
Настоящий стандарт распространяется на судовые, тепловозные и промышленные дизели и устанавливает технический и ориентировочный методы для определения шумовых характеристик
Связи и замены
Заменяющий:
-
Описание стандарта
ГОСТ 30575-98 Дизели судовые, тепловозные и промышленные. Методы измерения и оценки воздушного шума
Страницы стандарта










