ГОСТ 8519-93 Топливопроводы высокого давления дизелей и их соединения. Общие технические условия
ГОСТ
Скачать ГОСТ в PDF или DOC бесплатно
Основная информация
Обозначение:
ГОСТ 8519-93
Статус:
Действует
Тип:
ГОСТ
Название русское:
Топливопроводы высокого давления дизелей и их соединения. Общие технические условия
Название английское:
Jesel high-pressure fuel lines and connections. General specifications
Даты и сроки
Дата регистрации:
10-21-93
Дата издания:
02-06-95
Дата введения в действие:
01-01-95
Дата завершения срока действия:
-
Применение и описание
Область и условия применения:
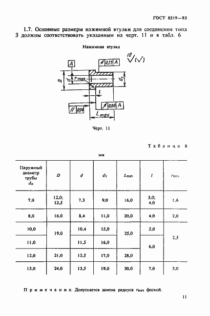
Настоящий стандарт распространяется на топливопроводы высокого давления наружным диаметром не более 13 мм и внутренним диаметром не более 5 мм и их соединения с конусообразной уплотняющей поверхностью для дизелей всех назначений. Стандарт не распространяется на топливопроводы и их соединения для судовых дизелей, поднадзорных Регистру и требующих внешней противопожарной защиты
Связи и замены
Заменяющий:
-
Взамен:
ГОСТ 8519-88
Описание стандарта
ГОСТ 8519-93 Топливопроводы высокого давления дизелей и их соединения. Общие технические условия
Страницы стандарта



















