ГОСТ Р 58908.1-2020 Промышленные системы, установки, оборудование и промышленная продукция. Принципы структурирования и коды. Часть 1. Основные правила
ГОСТ Р
Скачать ГОСТ в PDF или DOC бесплатно
Основная информация
Обозначение:
ГОСТ Р 58908.1-2020
Статус:
Действует
Тип:
ГОСТ Р
Название русское:
Промышленные системы, установки, оборудование и промышленная продукция. Принципы структурирования и коды. Часть 1. Основные правила
Название английское:
Industrial systems, installations, equipment and industrial products. Structuring principles and codes. Part 1. Basic rules
Даты и сроки
Дата издания:
07-14-20
Дата введения в действие:
01-01-21
Дата завершения срока действия:
-
Применение и описание
Область и условия применения:
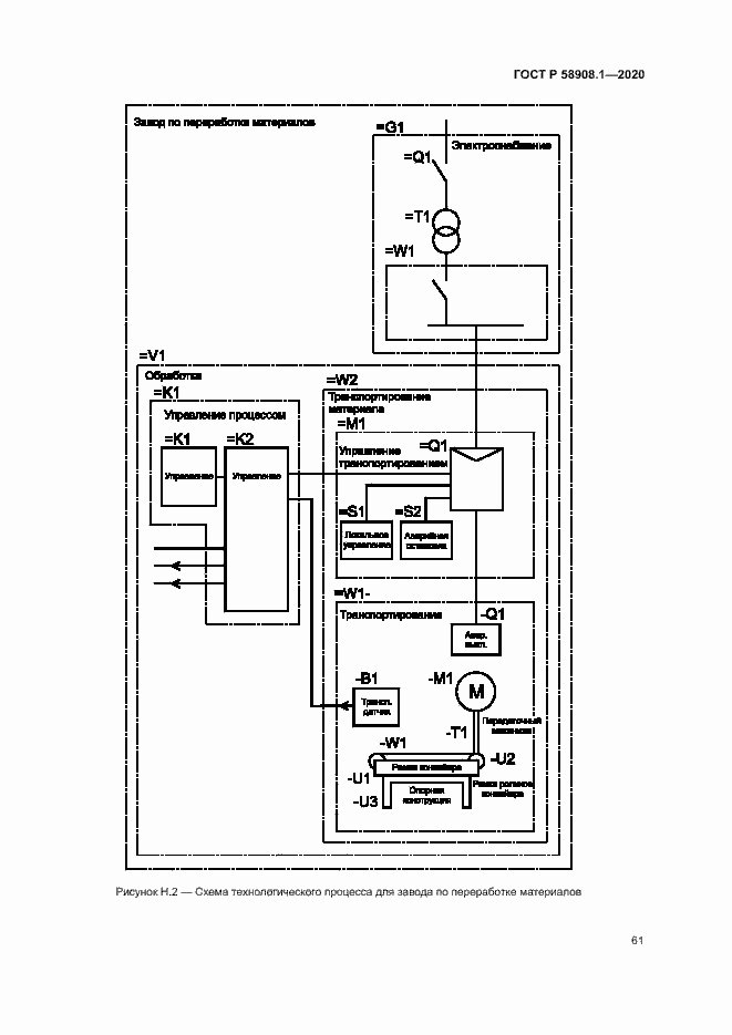
Настоящий стандарт устанавливает общие принципы структурирования систем, включая структурирование информации о самих системах. На основе данных принципов приведены правила и указания для формирования однозначных кодовых обозначений для объектов произвольной системы. Кодовое обозначение идентифицирует объекты с целью создания и поиска информации об объекте и, в случае реализации, о его соответствующем компоненте. Кодовое обозначение, расположенное на компоненте рассматриваемой системы, является ключевым параметром для поиска информации об этом объекте среди различных видов документации. Принципы, изложенные в настоящем стандарте, являются общими и применимы ко всем техническим областям (например, машиностроение, электротехника, строительство, технологическое проектирование). Их можно использовать как для систем, основанных на различных технологиях, так и для систем, объединяющих несколько технологий
Связи и замены
Заменяющий:
-
Описание стандарта
ГОСТ Р 58908.1-2020 Промышленные системы, установки, оборудование и промышленная продукция. Принципы структурирования и коды. Часть 1. Основные правила
Страницы стандарта












































































