ГОСТ Р 55798-2013 Установки газотурбинные. Методы испытаний. Приемочные испытания
ГОСТ Р
Скачать ГОСТ в PDF или DOC бесплатно
Основная информация
Обозначение:
ГОСТ Р 55798-2013
Статус:
Действует
Тип:
ГОСТ Р
Название русское:
Установки газотурбинные. Методы испытаний. Приемочные испытания
Название английское:
Gas Turbines. Methods of testing. Acceptance tests
Даты и сроки
Дата издания:
04-10-15
Дата введения в действие:
01-01-15
Дата завершения срока действия:
-
Применение и описание
Область и условия применения:
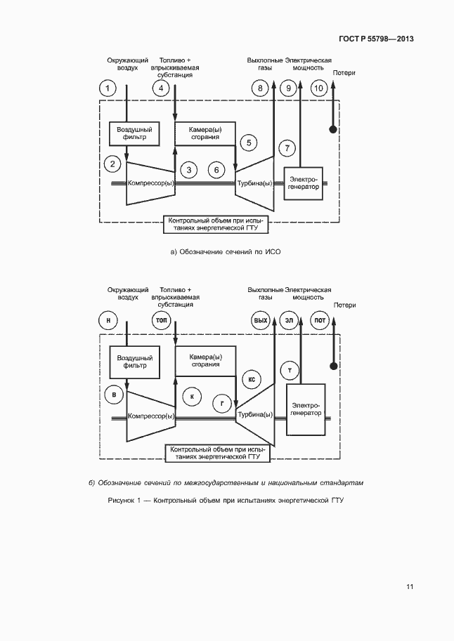
Настоящий стандарт распространяется на газотурбинные силовые установки открытого цикла, использующими системы сгорания, в которые подается газообразное и/или жидкое топливо, а также на ГТУ замкнутого и полузамкнутого циклов. Настоящий стандарт также может применяться к газотурбинным двигателям в установках комбинированного цикла или с использованием других теплоутилизационных систем
Связи и замены
Заменяющий:
-
Описание стандарта
ГОСТ Р 55798-2013 Установки газотурбинные. Методы испытаний. Приемочные испытания
Страницы стандарта

















































