ГОСТ ISO 23550-2015 Устройства защиты и управления газовых горелок и аппаратов. Общие требования
ГОСТ ИСО
Скачать ГОСТ в PDF или DOC бесплатно
Основная информация
Обозначение:
ГОСТ ISO 23550-2015
Статус:
Заменен
Тип:
ГОСТ ИСО
Название русское:
Устройства защиты и управления газовых горелок и аппаратов. Общие требования
Название английское:
Safety and control devices for gas burners and gas-burning appliances. General requirements
Даты и сроки
Дата регистрации:
05-29-15
Дата издания:
09-21-21
Дата введения в действие:
07-01-22
Дата завершения срока действия:
04-01-25
Применение и описание
Область и условия применения:
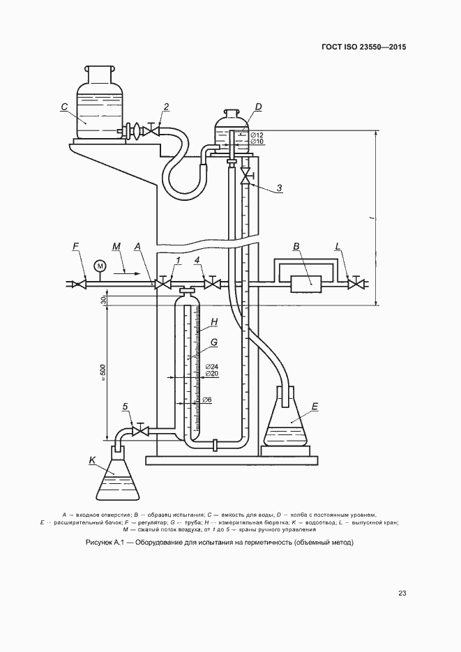
Настоящий стандарт устанавливает требования к безопасности, испытанию, конструкции и характеристикам устройств защиты или регулирующих устройств, а также дополнительных устройств или фитингов (далее – устройства управления), предназначенных для газовых горелок, аппаратов, использующих такие топливные газы, как природный газ, отопительный газ или сжиженный нефтяной газ. Настоящий стандарт распространяется на следующие устройства управления: - автоматические запорные клапаны; - устройства управления для горелки; - устройства управления пламенем; - устройства управления потока газа/воздуха; - регуляторы давления; - ручные краны; - механические термостаты; - многофункциональные устройства управления; - датчики давления; - системы контроля (испытания) клапанов; - корректоры нуля (стабилизатор). Настоящий стандарт предназначен для типовых испытаний продукции. Настоящий стандарт не распространяется на специальные испытания продукции
Связи и замены
Заменяющий:
ГОСТ ISO 23550-2023
Описание стандарта
ГОСТ ISO 23550-2015 Устройства защиты и управления газовых горелок и аппаратов. Общие требования
Страницы стандарта









































