ГОСТ IEC 62282-4-101-2017 Технологии топливных элементов. Часть 4-101. Энергоустановки на топливных элементах, отличные от автомобильных и вспомогательных энергосистем. Безопасность электрических автопогрузчиков
ГОСТ МЭК
Скачать ГОСТ в PDF или DOC бесплатно
Основная информация
Обозначение:
ГОСТ IEC 62282-4-101-2017
Статус:
Действует
Тип:
ГОСТ МЭК
Название русское:
Технологии топливных элементов. Часть 4-101. Энергоустановки на топливных элементах, отличные от автомобильных и вспомогательных энергосистем. Безопасность электрических автопогрузчиков
Название английское:
Fuel cell technologies. Part 4-101. Fuel cell power systems for propulsion other than road vehicles and auxiliary power units (APU). Safety of electrically powered industrial trucks
Даты и сроки
Дата регистрации:
08-30-17
Дата издания:
12-03-18
Дата введения в действие:
03-01-19
Применение и описание
Область и условия применения:
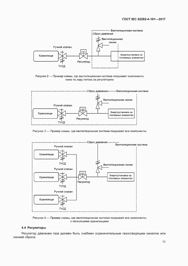
Требования безопасности к энергоустановкам, предназначенным для автопогрузчиков с электрическим приводом. Автопогрузчики с электрическим приводом, а также подъемно-транспортное оборудование, например вилочные погрузчики. Энергоустановки на топливных элементах, использующие газообразный водород в качестве топлива и энергоустановки на топливных элементах с прямым окислением метанола для автопогрузчиков с электрическим приводом. Настоящий стандарт распространяется на оборудование, использующее следующие виды топлива: - газообразный водород; - метанол. Настоящий стандарт распространяется на энергоустановки на топливных элементах, определение которых дано в 3.8, а типовая схема работы представлена на рисунке 1. Энергоустановки на топливных элементах постоянного тока с номинальным выходным напряжением не более 150 В для использования внутри помещений и на открытом воздухе. Энергоустановки на топливных элементах, в которых система хранения топлива стационарно установлена на автопогрузчике либо на энергоустановке на топливных элементах. Требования к электрическому погрузочно-разгрузочному промышленному транспорту не регулируются настоящим стандартом при наличии в его конструкции следующих компонентов: - топливные контейнеры съемного типа; - гибридные транспортные средства, включающие двигатель внутреннего сгорания; - энергоустановки на топливных элементах, оборудованные установками риформинга топлива; - энергоустановки на топливных элементах, предназначенные для работы во взрывоопасных средах; - оборудование, оснащенное системой хранения жидкого водорода
Описание стандарта
ГОСТ IEC 62282-4-101-2017 Технологии топливных элементов. Часть 4-101. Энергоустановки на топливных элементах, отличные от автомобильных и вспомогательных энергосистем. Безопасность электрических автопогрузчиков
Страницы стандарта

















































