ГОСТы >
27.120.30 Делящиеся ядерные вещества и технология получения ядерного топлива >
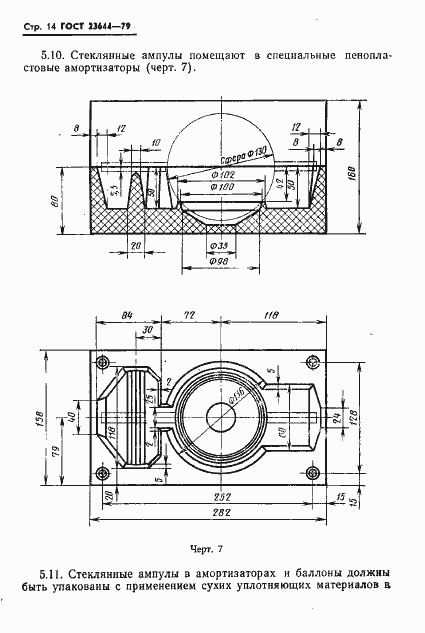
ГОСТ 23644-79
ГОСТ 23644-79 Азот газообразный, обогащенный стабильным изотопом АЗОТ-15. Технические условия
ГОСТ
Скачать ГОСТ в PDF или DOC бесплатно
Основная информация
Обозначение:
ГОСТ 23644-79
Статус:
Действует
Тип:
ГОСТ
Название русское:
Азот газообразный, обогащенный стабильным изотопом АЗОТ-15. Технические условия
Название английское:
Gaseous nitrogen concentrated by stable isotope Nitrogen-15. Specifications
Даты и сроки
Дата издания:
04-01-85
Дата введения в действие:
06-30-80
Дата завершения срока действия:
-
Применение и описание
Область и условия применения:
Настоящий стандарт распространяется на газообразный азот, обогащенный стабильным изотопом азот-15, применяемый в научных исследованиях в области физики, химии, сельского хозяйства, биохимии и других отраслях промышленности
Связи и замены
Заменяющий:
-
Изменения и переиздания
Список изменений:
№1 от (рег. ) «Срок действия продлен» №2 от (рег. ) «Срок действия продлен»
Описание стандарта
ГОСТ 23644-79 Азот газообразный, обогащенный стабильным изотопом АЗОТ-15. Технические условия
Страницы стандарта





















