ГОСТ 28164-89 Боксы радиационно-защитные с перчатками. Типы
ГОСТ
Скачать ГОСТ в PDF или DOC бесплатно
Основная информация
Обозначение:
ГОСТ 28164-89
Статус:
Действует
Тип:
ГОСТ
Название русское:
Боксы радиационно-защитные с перчатками. Типы
Название английское:
Radiation-shielding glove boxes. Types
Даты и сроки
Дата издания:
09-05-89
Дата введения в действие:
06-30-90
Дата завершения срока действия:
-
Применение и описание
Область и условия применения:
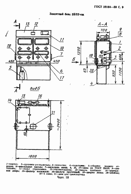
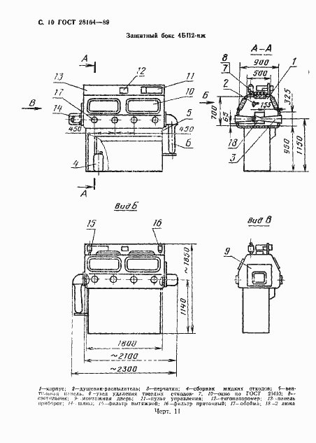
Настоящий стандарт распространяется на металлические и пластмассовые радиационно-защитные боксы с перчатками, с толщинами радиационной защиты из стали не более 2,5 мм или из органического стекла и других пластмасс не более 10 мм, оснащенные герметичными перчатками, предназначенные для работы с радиоактивными веществами в открытом виде по I, II и III классам работ, определяемым "Основными санитарными правилами работы с радиоактивными веществами и другими источниками ионизирующих излучений ОСП 72/87", утвержденными Главным Государственным санитарным врачом. Стандарт не распространяется на радиационно-защитные боксы, предназначенные для применения на передвижных объектах, а также боксы, предназначенные для специальных целей
Связи и замены
Заменяющий:
-
Описание стандарта
ГОСТ 28164-89 Боксы радиационно-защитные с перчатками. Типы
Страницы стандарта


















