ГОСТ Р МЭК 61225-2011 Атомные станции. Системы контроля и управления, важные для безопасности. Требования к электроснабжению
ГОСТ Р МЭК
Скачать ГОСТ в PDF или DOC бесплатно
Основная информация
Обозначение:
ГОСТ Р МЭК 61225-2011
Статус:
Заменен
Тип:
ГОСТ Р МЭК
Название русское:
Атомные станции. Системы контроля и управления, важные для безопасности. Требования к электроснабжению
Название английское:
Nuclear power plants. Instrumentation and control systems important for safety. Requirements for electrical supplies
Даты и сроки
Дата издания:
12-08-11
Дата введения в действие:
01-01-12
Дата завершения срока действия:
12-01-21
Применение и описание
Область и условия применения:
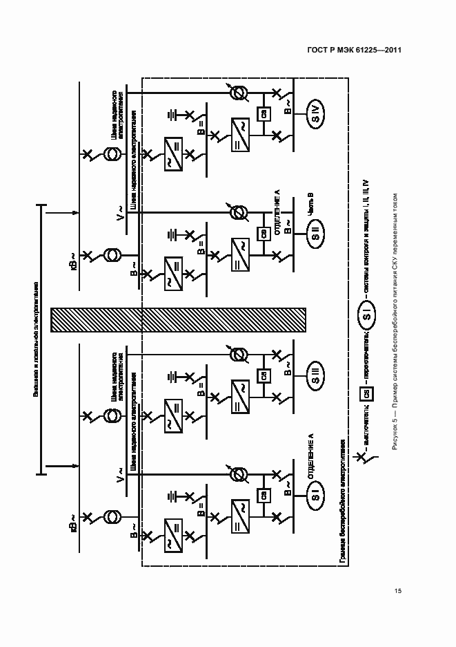
Настоящий стандарт устанавливает требования к качеству эксплуатационных и функциональных характеристик систем электроснабжения, требующихся для систем контроля и управления, важных для безопасности атомной станции. Приведены также рекомендации по возможному использованию этих источников электроснабжения для других информационных и управляющих систем. Электроснабжение систем контроля и управления должно осуществляться от первичных источников соответствующей надежности и их резервирования так, чтобы были достигнуты безопасность и функциональные цели систем контроля и управления. Настоящий стандарт устанавливает методы применения Руководства по безопасности МАГАТЭ NS-G-1.3
Связи и замены
Заменяющий:
ГОСТ Р МЭК 61225-2021
Описание стандарта
ГОСТ Р МЭК 61225-2011 Атомные станции. Системы контроля и управления, важные для безопасности. Требования к электроснабжению
Страницы стандарта



























