ГОСТ Р МЭК 60904-8-2013 Государственная система обеспечения единства измерений. Приборы фотоэлектрические. Часть 8. Измерение спектральной чувствительности фотоэлектрических приборов
ГОСТ Р МЭК
Скачать ГОСТ в PDF или DOC бесплатно
Основная информация
Обозначение:
ГОСТ Р МЭК 60904-8-2013
Статус:
Действует
Тип:
ГОСТ Р МЭК
Название русское:
Государственная система обеспечения единства измерений. Приборы фотоэлектрические. Часть 8. Измерение спектральной чувствительности фотоэлектрических приборов
Название английское:
State system for ensuring the uniformity of measurements. Photovoltaic devices. Part 8. Measurement of spectral response of a photovoltaic device
Даты и сроки
Дата издания:
10-01-14
Дата введения в действие:
07-01-15
Дата завершения срока действия:
-
Применение и описание
Область и условия применения:
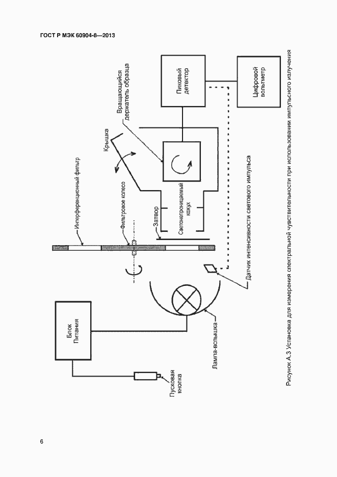
Настоящий стандарт устанавливает требования к измерениям относительной спектральной чувствительности линейных и нелинейных фотоэлектрических приборов. Настоящий стандарт распространяется только на однопереходные фотоэлектрические приборы
Связи и замены
Заменяющий:
-
Описание стандарта
ГОСТ Р МЭК 60904-8-2013 Государственная система обеспечения единства измерений. Приборы фотоэлектрические. Часть 8. Измерение спектральной чувствительности фотоэлектрических приборов
Страницы стандарта










