ГОСТ Р МЭК 61683-2013 Системы фотоэлектрические. Источники стабилизированного питания. Методы определения эффективности
ГОСТ Р МЭК
Скачать ГОСТ в PDF или DOC бесплатно
Основная информация
Обозначение:
ГОСТ Р МЭК 61683-2013
Статус:
Действует
Тип:
ГОСТ Р МЭК
Название русское:
Системы фотоэлектрические. Источники стабилизированного питания. Методы определения эффективности
Название английское:
Photovoltaic systems. Power conditioners. Procedure for measuring efficiency
Даты и сроки
Дата издания:
11-26-14
Дата введения в действие:
01-01-15
Дата завершения срока действия:
-
Применение и описание
Область и условия применения:
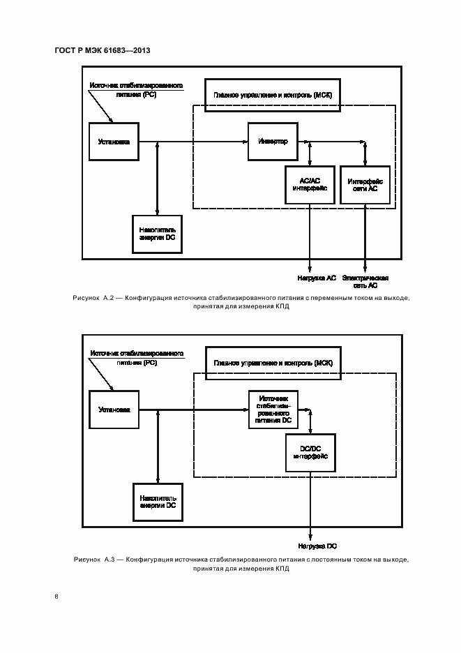
Настоящий стандарт представляет собой общее руководство по определению эффективности источников стабилизированного питания, используемые в автономных и работающих совместно с электрическими сетями фотоэлектрических системах, где на выходе источника стабилизированного питания–стабильное напряжение переменного тока постоянной частоты или стабильное напряжение постоянного тока
Связи и замены
Заменяющий:
-
Описание стандарта
ГОСТ Р МЭК 61683-2013 Системы фотоэлектрические. Источники стабилизированного питания. Методы определения эффективности
Страницы стандарта


















