ГОСТ 7076-99 Материалы и изделия строительные. Метод определения теплопроводности и термического сопротивления при стационарном тепловом режиме
ГОСТ
Скачать ГОСТ в PDF или DOC бесплатно
Основная информация
Обозначение:
ГОСТ 7076-99
Статус:
Действует
Тип:
ГОСТ
Название русское:
Материалы и изделия строительные. Метод определения теплопроводности и термического сопротивления при стационарном тепловом режиме
Название английское:
Building materials and products. Method of determination of steady-state thermal conductivity and thermal resistance
Даты и сроки
Дата регистрации:
05-20-99
Дата издания:
03-10-00
Дата введения в действие:
04-01-00
Применение и описание
Область и условия применения:
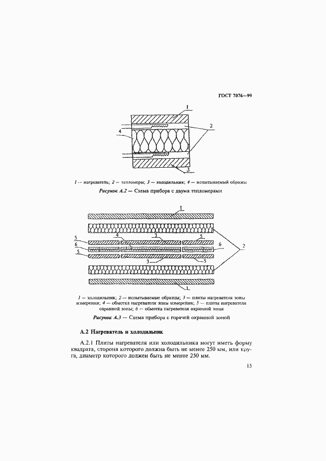
Настоящий стандарт распространяется на строительные материалы и изделия, а также на материалы и изделия, предназначенные для тепловой изоляции промышленного оборудования и трубопроводов, и устанавливает метод определения их эффективной теплопроводности и термического сопротивления при средней температуре образца от минус 40 до + 200 град. С. Стандарт не распространяется на материалы и изделия с теплопроводностью более 1,5 Вт/(м.К)
Связи и замены
Взамен:
ГОСТ 7076-87
Описание стандарта
ГОСТ 7076-99 Материалы и изделия строительные. Метод определения теплопроводности и термического сопротивления при стационарном тепловом режиме
Страницы стандарта


























