ГОСТ 29176-91 Короткие замыкания в электроустановках. Методика расчета в электроустановках постоянного тока
ГОСТ
Скачать ГОСТ в PDF или DOC бесплатно
Основная информация
Обозначение:
ГОСТ 29176-91
Статус:
Действует
Тип:
ГОСТ
Название русское:
Короткие замыкания в электроустановках. Методика расчета в электроустановках постоянного тока
Название английское:
Short-circuits in electrical installations. Calculation methods in d.c. electrical
Даты и сроки
Дата издания:
11-01-04
Дата введения в действие:
06-30-92
Дата завершения срока действия:
-
Применение и описание
Область и условия применения:
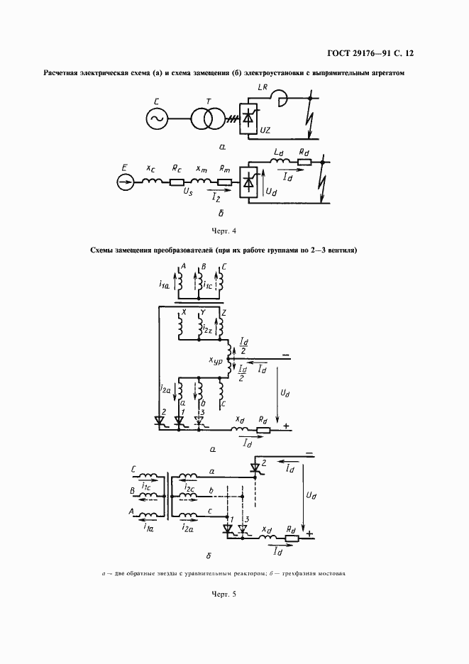
Настоящий стандарт распространяется на электроустановки постоянного тока, в которых источниками энергии постоянного тока (преобразователями) являются: - свинцово-кислотные аккумуляторные батареи; - машины постоянного тока параллельного возбуждения; - трехфазные вентильные полупроводниковые выпрямители, выполненные по схеме две обратные звезды с уравнительным реактором; - трехфазные вентильные полупроводниковые выпрямители, выполненные по симметричной мостовой схеме. Стандарт не распространяется на электроустановки постояннго тока напряжением выше ± 750 кВ
Связи и замены
Заменяющий:
-
Описание стандарта
ГОСТ 29176-91 Короткие замыкания в электроустановках. Методика расчета в электроустановках постоянного тока
Страницы стандарта



































