ГОСТ 12636-67 Материалы магнитомягкие высокочастотные. Методы испытаний в диапазоне частот от 1 до 200 МГц
ГОСТ
Скачать ГОСТ в PDF или DOC бесплатно
Основная информация
Обозначение:
ГОСТ 12636-67
Статус:
Действует
Тип:
ГОСТ
Название русское:
Материалы магнитомягкие высокочастотные. Методы испытаний в диапазоне частот от 1 до 200 МГц
Название английское:
High frequency magnet malleable materials. Testing methods at the range from 1 to 200 mc
Даты и сроки
Дата издания:
05-03-67
Дата введения в действие:
01-01-69
Дата завершения срока действия:
-
Применение и описание
Область и условия применения:
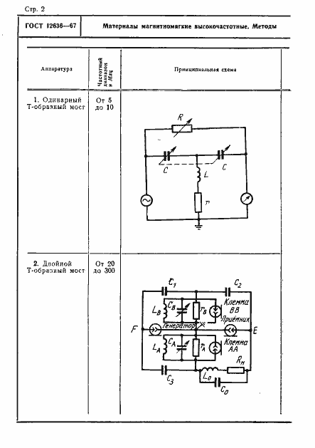
Настоящий стандарт распространяется на высокочастотные магнитномягкие материалы, применяемые в радиоэлектронике: магнитодиэлектрики (на основе карбонильного железа и альсиферов) и ферриты, и устанавливает методы их испытаний. Стандарт не устанавливает методов испытаний ферритов, применяемых в диапазоне СВЧ, и ферритов с прямоугольной петлей гистерезиса. Настоящим стандартом устанавливаются следующие методы испытаний магнитномягких материалов в диапазоне частот от 1 до 200 МГц, в слабых магнитных полях с напряженностью, равной или менее 0,1 коэрцитивной силы: мостовой метод, резонансный метод
Связи и замены
Заменяющий:
-
Описание стандарта
ГОСТ 12636-67 Материалы магнитомягкие высокочастотные. Методы испытаний в диапазоне частот от 1 до 200 МГц
Страницы стандарта
























