ГОСТ 12268-79 Картон электроизоляционный. Методы определения стойкости к воздействию испытательного напряжения, поверхностных разрядов и сжимаемости под давлением
ГОСТ
Скачать ГОСТ в PDF или DOC бесплатно
Основная информация
Обозначение:
ГОСТ 12268-79
Статус:
Действует
Тип:
ГОСТ
Название русское:
Картон электроизоляционный. Методы определения стойкости к воздействию испытательного напряжения, поверхностных разрядов и сжимаемости под давлением
Название английское:
Electrical insulating board. Methods for determination of test voltage resistance, surface discharge resistance and compressibility under pressure
Даты и сроки
Дата издания:
07-01-85
Дата введения в действие:
01-01-80
Дата завершения срока действия:
-
Применение и описание
Область и условия применения:
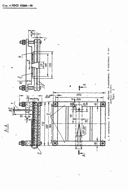
Настоящий стандарт распространяется на электроизоляционный картон, предназначенный для изоляции в масляных трансформаторах и аналогичных аппаратах с масляным заполнением, и устанавливает следующие методы испытаний: определение стойкости картона к воздействию испытательного напряжения переменного тока частотой 50 Гц перпендикулярно к поверхности; определение стойкости картона к воздействию поверхностных разрядов в трансформаторном масле при частоте 50 Гц; определение сжимаемости картона после сушки под давлением на воздухе; определение сжимаемости картона под давлением в трансформаторном масле; определение сжимаемости картона до сушки под давлением на воздухе; определение остаточной деформации после снятия давления
Связи и замены
Заменяющий:
-
Взамен:
ГОСТ 12268-74
Изменения и переиздания
Список изменений:
№1 от (рег. ) «Срок действия продлен»
Описание стандарта
ГОСТ 12268-79 Картон электроизоляционный. Методы определения стойкости к воздействию испытательного напряжения, поверхностных разрядов и сжимаемости под давлением
Страницы стандарта










