ГОСТ 25922-83 Материалы электроизоляционные. Методы определения жесткости
ГОСТ
Скачать ГОСТ в PDF или DOC бесплатно
Основная информация
Обозначение:
ГОСТ 25922-83
Статус:
Действует
Тип:
ГОСТ
Название русское:
Материалы электроизоляционные. Методы определения жесткости
Название английское:
Electrical insulating materials. Determination of stiffness. Methods of test
Даты и сроки
Дата издания:
12-14-83
Дата введения в действие:
01-01-85
Дата завершения срока действия:
-
Применение и описание
Область и условия применения:
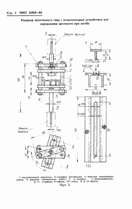
Настоящий стандарт устанавливает методы определения жесткости при сжатии кольца и при изгибе электроизоляционных материалов толщиной до 0,5 мм: многослойные слюдосодержащие и пленкосодержащие, синтетические и неорганические бумаги (в том числе слюдяные) и пленки
Связи и замены
Заменяющий:
-
Описание стандарта
ГОСТ 25922-83 Материалы электроизоляционные. Методы определения жесткости
Страницы стандарта









