ГОСТ 25930-83 Крышки пластмассовые для цилиндрических соединителей. Технические условия
ГОСТ
Скачать ГОСТ в PDF или DOC бесплатно
Основная информация
Обозначение:
ГОСТ 25930-83
Статус:
Действует
Тип:
ГОСТ
Название русское:
Крышки пластмассовые для цилиндрических соединителей. Технические условия
Название английское:
Plastic covers for cylindrical connectors. Specifications
Даты и сроки
Дата издания:
02-01-90
Дата введения в действие:
01-01-85
Дата завершения срока действия:
-
Применение и описание
Область и условия применения:
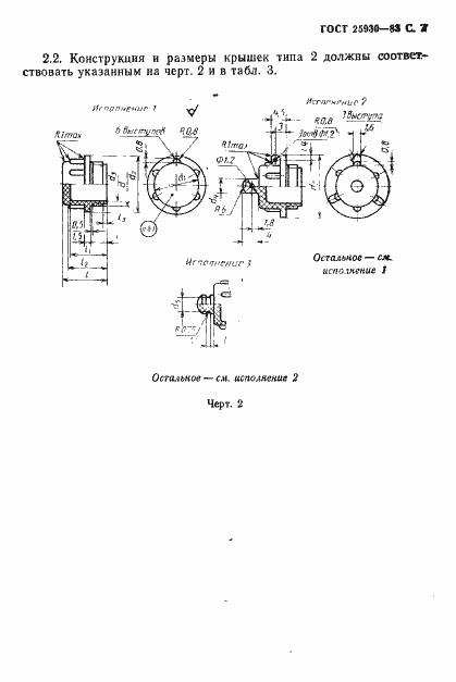
Настоящий стандарт распространяется на пластмассовые крышки, предназначенные для защиты контактных частей электрических цилиндрических соединителей от загрязнений, механических повреждений при транспортировании, хранении и эксплуатации изделий
Связи и замены
Заменяющий:
-
Изменения и переиздания
Список изменений:
№1 от (рег. ) «Срок действия продлен» №2 от (рег. ) «Срок действия продлен»
Описание стандарта
ГОСТ 25930-83 Крышки пластмассовые для цилиндрических соединителей. Технические условия
Страницы стандарта






























