ГОСТ 28034-89 Лакоткани электроизоляционные. Общие технические требования
ГОСТ
Скачать ГОСТ в PDF или DOC бесплатно
Основная информация
Обозначение:
ГОСТ 28034-89
Статус:
Действует
Тип:
ГОСТ
Название русское:
Лакоткани электроизоляционные. Общие технические требования
Название английское:
Electroinsulating varnished cloths. General technical requirements
Даты и сроки
Дата издания:
06-01-89
Дата введения в действие:
01-01-91
Дата завершения срока действия:
-
Применение и описание
Область и условия применения:
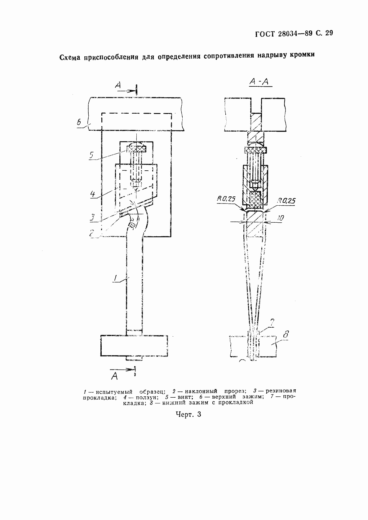
Настоящий стандарт распространяется на электроизоляционные лакоткани, применяемые в качестве электроизоляционного материала для длительной работы при температуре до 180°С
Связи и замены
Заменяющий:
-
Изменения и переиздания
Список изменений:
№1 от (рег. ) «Срок действия продлен» №2 от (рег. ) «Срок действия продлен»
Описание стандарта
ГОСТ 28034-89 Лакоткани электроизоляционные. Общие технические требования
Страницы стандарта






































