ГОСТ Р 57734-2017 Композиты полимерные. Определение энергии удара, затраченной на разрушение образца
ГОСТ Р
Скачать ГОСТ в PDF или DOC бесплатно
Основная информация
Обозначение:
ГОСТ Р 57734-2017
Статус:
Действует
Тип:
ГОСТ Р
Название русское:
Композиты полимерные. Определение энергии удара, затраченной на разрушение образца
Название английское:
Polymer composites. Determination of impact energy to break sample
Даты и сроки
Дата издания:
10-27-17
Дата введения в действие:
02-01-18
Дата завершения срока действия:
-
Применение и описание
Область и условия применения:
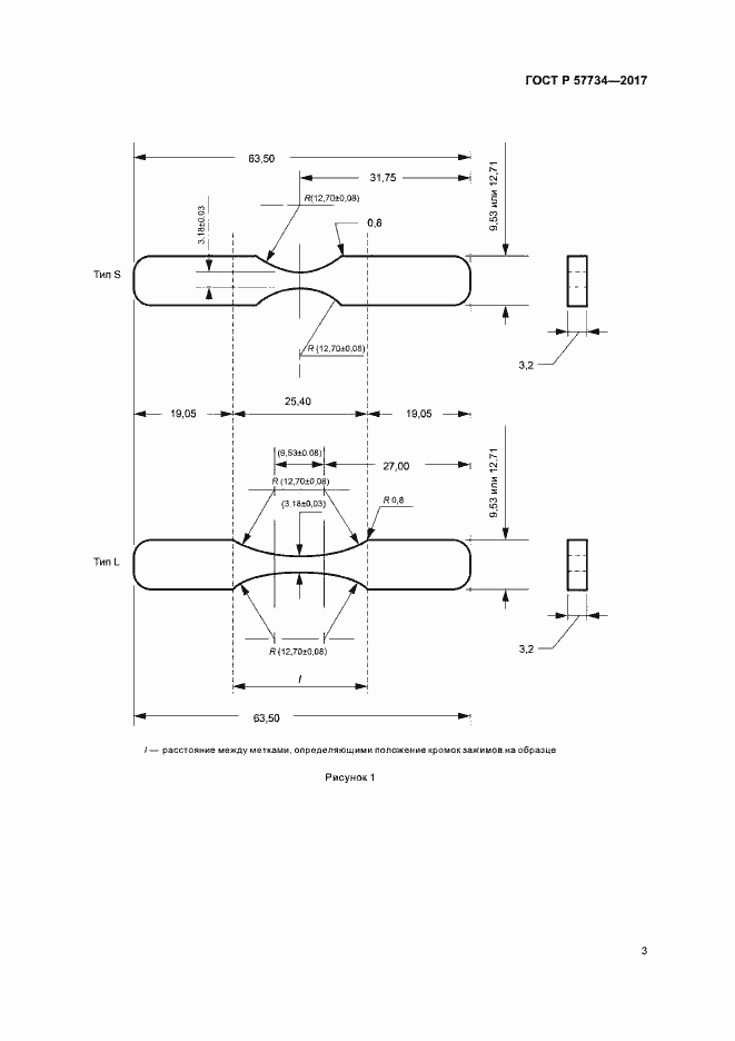
Настоящий стандарт распространяется на полимерные композиты, армированные рубленым волокном, а также на жесткие пластмассы и устанавливает метод определения энергии удара, затраченной на разрушение образца
Связи и замены
Заменяющий:
-
Описание стандарта
ГОСТ Р 57734-2017 Композиты полимерные. Определение энергии удара, затраченной на разрушение образца
Страницы стандарта






















