ГОСТ 28244-96 Провода и шнуры армированные. Технические условия
ГОСТ
Скачать ГОСТ в PDF или DOC бесплатно
Основная информация
Обозначение:
ГОСТ 28244-96
Статус:
Действует
Тип:
ГОСТ
Название русское:
Провода и шнуры армированные. Технические условия
Название английское:
Reinforced wires and cords. Specifications
Даты и сроки
Дата регистрации:
10-04-96
Дата издания:
10-01-06
Дата введения в действие:
01-01-98
Дата завершения срока действия:
-
Применение и описание
Область и условия применения:
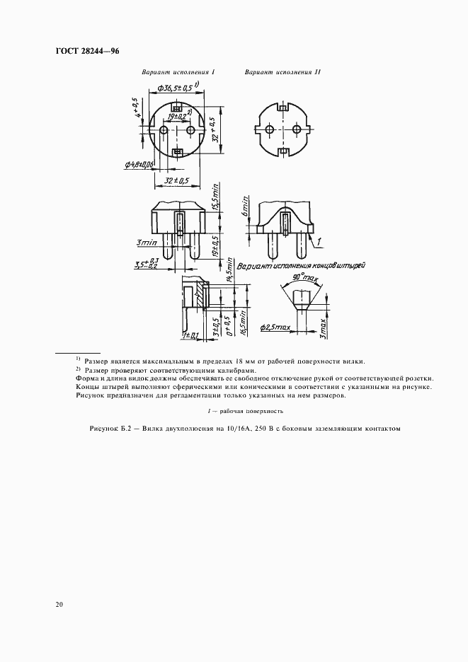
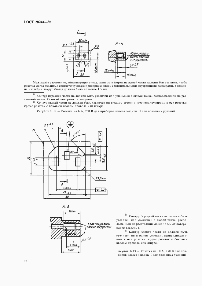
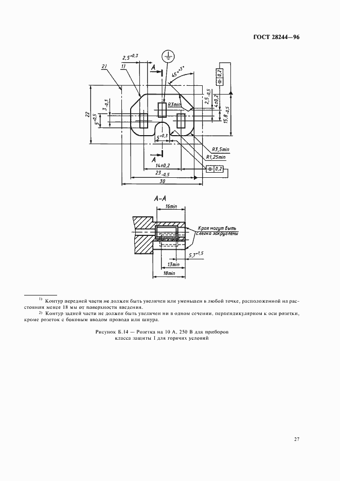
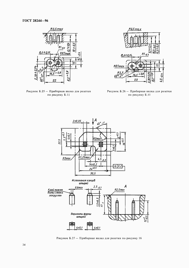
Настоящий стандарт распространяется на провода и шнуры, армированные неразборными двухполюсными вилками, и провода и шнуры, армированные неразборными двухполюсными вилками и приборными розетками ( разборными и неразборными), предназначенные для присоединения электрических машин и приборов бытового и аналогичного назначения к электрической сети переменного тока до 16 А и номинального напряжения до 250 В
Связи и замены
Заменяющий:
-
Взамен:
ГОСТ 28244-89
Изменения и переиздания
Список изменений:
№0 от (рег. ) «Дата введения перенесена»
Описание стандарта
ГОСТ 28244-96 Провода и шнуры армированные. Технические условия
Страницы стандарта







































Приложение №1: Поправка к ГОСТ 28244-96 Обозначение: Поправка к ГОСТ 28244-96 Дата введения в действие: 01.05.1998
