ГОСТ 23865-79 Вводы конденсаторные герметичные на номинальные напряжения 110 кВ и выше. Типы и размеры
ГОСТ
Скачать ГОСТ в PDF или DOC бесплатно
Основная информация
Обозначение:
ГОСТ 23865-79
Статус:
Действует
Тип:
ГОСТ
Название русское:
Вводы конденсаторные герметичные на номинальные напряжения 110 кВ и выше. Типы и размеры
Название английское:
Condenser sealed bushings for nominal voltages 110 and higher. Types and sizes
Даты и сроки
Дата издания:
06-01-83
Дата введения в действие:
01-01-82
Дата завершения срока действия:
-
Применение и описание
Область и условия применения:
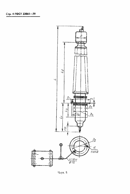
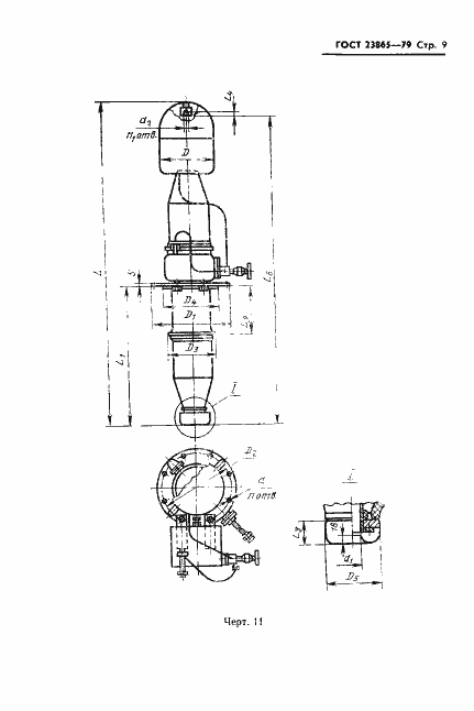
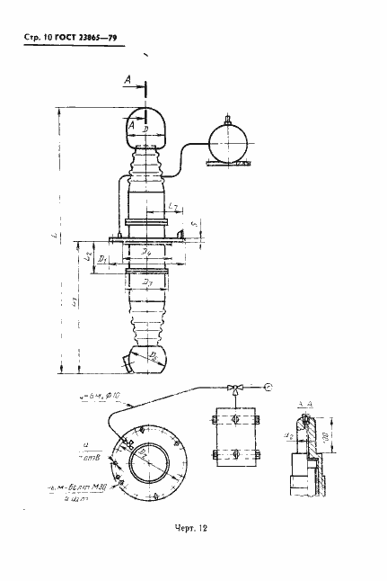
Настоящий стандарт распространяется на конденсаторные вводы герметичного исполнения с бумажно-масляной изоляцией на номинальные напряжения 110 кВ и выше промышленной частоты от 15 до 60 Гц, предназначенные для трансформаторов (автотрансформаторов), реакторов, масляных выключателей, и линейные вводы, а также вводы для кабельного подключения трансформаторов и вводы с твердой изоляцией
Связи и замены
Заменяющий:
-
Изменения и переиздания
Список изменений:
№1 от (рег. ) «Срок действия продлен» №2 от (рег. ) «Срок действия продлен» №3 от (рег. ) «Срок действия продлен»
Описание стандарта
ГОСТ 23865-79 Вводы конденсаторные герметичные на номинальные напряжения 110 кВ и выше. Типы и размеры
Страницы стандарта








































