ГОСТ Р 51324.1-2012 Выключатели для бытовых и аналогичных стационарных электрических установок. Часть 1. Общие требования
ГОСТ Р
Скачать ГОСТ в PDF или DOC бесплатно
Основная информация
Обозначение:
ГОСТ Р 51324.1-2012
Статус:
Отменен
Тип:
ГОСТ Р
Название русское:
Выключатели для бытовых и аналогичных стационарных электрических установок. Часть 1. Общие требования
Название английское:
Switches for household and similar fixed electrical installations. Part 1. General requirements
Даты и сроки
Дата издания:
12-01-14
Дата введения в действие:
01-01-14
Дата завершения срока действия:
07-01-25
Применение и описание
Область и условия применения:
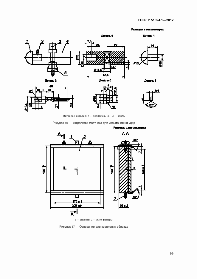
Настоящий стандарт распространяется на выключатели общего назначения, приводимые в действие вручную, предназначенные для бытовых и аналогичных стационарных электрических установок только переменного тока на номинальное напряжение не более 440 В и номинальный ток не более 63 А при установке внутри и вне помещений. Для выключателей с безвинтовыми зажимами номинальный ток ограничивается значением 16 А. Настоящий стандарт распространяется на выключатели, предназначенные для управления в нормальных условиях эксплуатации: - цепями нагрузки ламп накаливания; - цепями нагрузки люминесцентных ламп (в том числе дросселей стартеров люминесцентных ламп); - цепями, в основном, активной нагрузки с коэффициентом мощности не менее 0,95; - однофазными цепями нагрузки двигателей на номинальный ток до 10 А с коэффициентом мощности не менее 0,6; - комбинированными вышеперечисленными цепями
Связи и замены
Заменяющий:
-
Взамен:
ГОСТ Р 51324.1-2005
Описание стандарта
ГОСТ Р 51324.1-2012 Выключатели для бытовых и аналогичных стационарных электрических установок. Часть 1. Общие требования
Страницы стандарта









































































