ГОСТ Р 51327.1-99 Выключатели автоматические, управляемые дифференциальным током, бытового и аналогичного назначения со встроенной защитой от сверхтоков. Часть 1. Общие требования и методы испытаний
ГОСТ Р
Скачать ГОСТ в PDF или DOC бесплатно
Основная информация
Обозначение:
ГОСТ Р 51327.1-99
Статус:
Заменен
Тип:
ГОСТ Р
Название русское:
Выключатели автоматические, управляемые дифференциальным током, бытового и аналогичного назначения со встроенной защитой от сверхтоков. Часть 1. Общие требования и методы испытаний
Название английское:
Residual current operated circuit-pressers with integral overcurrent protection for household and similar use. Part 1. General requirements and test methods
Даты и сроки
Дата издания:
03-28-00
Дата введения в действие:
07-01-00
Дата завершения срока действия:
01-01-12
Применение и описание
Область и условия применения:
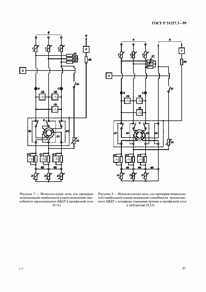
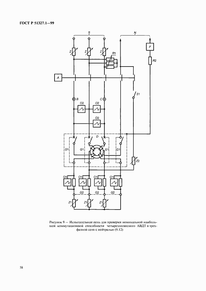
Настоящий стандарт распространяется на управляемые дифференциальным током автоматические выключатели с встроенной защитой от сверхтоков, функционально независящие или зависящие от напряжения сети, для бытового и аналогичного применения (АВДТ), с номинальными напряжениями, не превышающими 440 В переменного тока, номинальными токами, не превышающими 125 А, и с номинальными наибольшими коммутационными способностями, не превышающими 25000 А, для работы на частоте 50 или 60 Гц. Настоящий стандарт применим к АВДТ с защитой от повышенного напряжения. Настоящий стандарт не распространяется на: АВДТ, предназначенные для защиты двигателей; АВДТ, установка по току которых регулируется средствами, доступными для потребителя в условиях нормальной эксплуатации; АВДТ, содержащие автономные источники питания
Связи и замены
Заменяющий:
ГОСТ Р 51327.1-2010
Изменения и переиздания
Список изменений:
№1 от (рег. ) «Текстовое изменение; Изменены ссылочные НД»
Описание стандарта
ГОСТ Р 51327.1-99 Выключатели автоматические, управляемые дифференциальным током, бытового и аналогичного назначения со встроенной защитой от сверхтоков. Часть 1. Общие требования и методы испытаний
Страницы стандарта




































































































Приложение №1: Изменение №1 к ГОСТ Р 51327.1-99 Обозначение: Изменение №1 к ГОСТ Р 51327.1-99 Дата введения в действие: 01.07.2008

Приложение №1: Изменение №1 к ГОСТ Р 51327.1-99 Обозначение: Изменение №1 к ГОСТ Р 51327.1-99 Дата введения в действие: 01.07.2008

Приложение №1: Изменение №1 к ГОСТ Р 51327.1-99 Обозначение: Изменение №1 к ГОСТ Р 51327.1-99 Дата введения в действие: 01.07.2008

Приложение №1: Изменение №1 к ГОСТ Р 51327.1-99 Обозначение: Изменение №1 к ГОСТ Р 51327.1-99 Дата введения в действие: 01.07.2008

Приложение №1: Изменение №1 к ГОСТ Р 51327.1-99 Обозначение: Изменение №1 к ГОСТ Р 51327.1-99 Дата введения в действие: 01.07.2008

Приложение №2: Изменение №1 к ГОСТ Р 51327.1-99 Обозначение: Изменение №1 к ГОСТ Р 51327.1-99 Дата введения в действие: 30.06.2008

Приложение №2: Изменение №1 к ГОСТ Р 51327.1-99 Обозначение: Изменение №1 к ГОСТ Р 51327.1-99 Дата введения в действие: 30.06.2008

Приложение №2: Изменение №1 к ГОСТ Р 51327.1-99 Обозначение: Изменение №1 к ГОСТ Р 51327.1-99 Дата введения в действие: 30.06.2008

Приложение №2: Изменение №1 к ГОСТ Р 51327.1-99 Обозначение: Изменение №1 к ГОСТ Р 51327.1-99 Дата введения в действие: 30.06.2008

Приложение №2: Изменение №1 к ГОСТ Р 51327.1-99 Обозначение: Изменение №1 к ГОСТ Р 51327.1-99 Дата введения в действие: 30.06.2008
