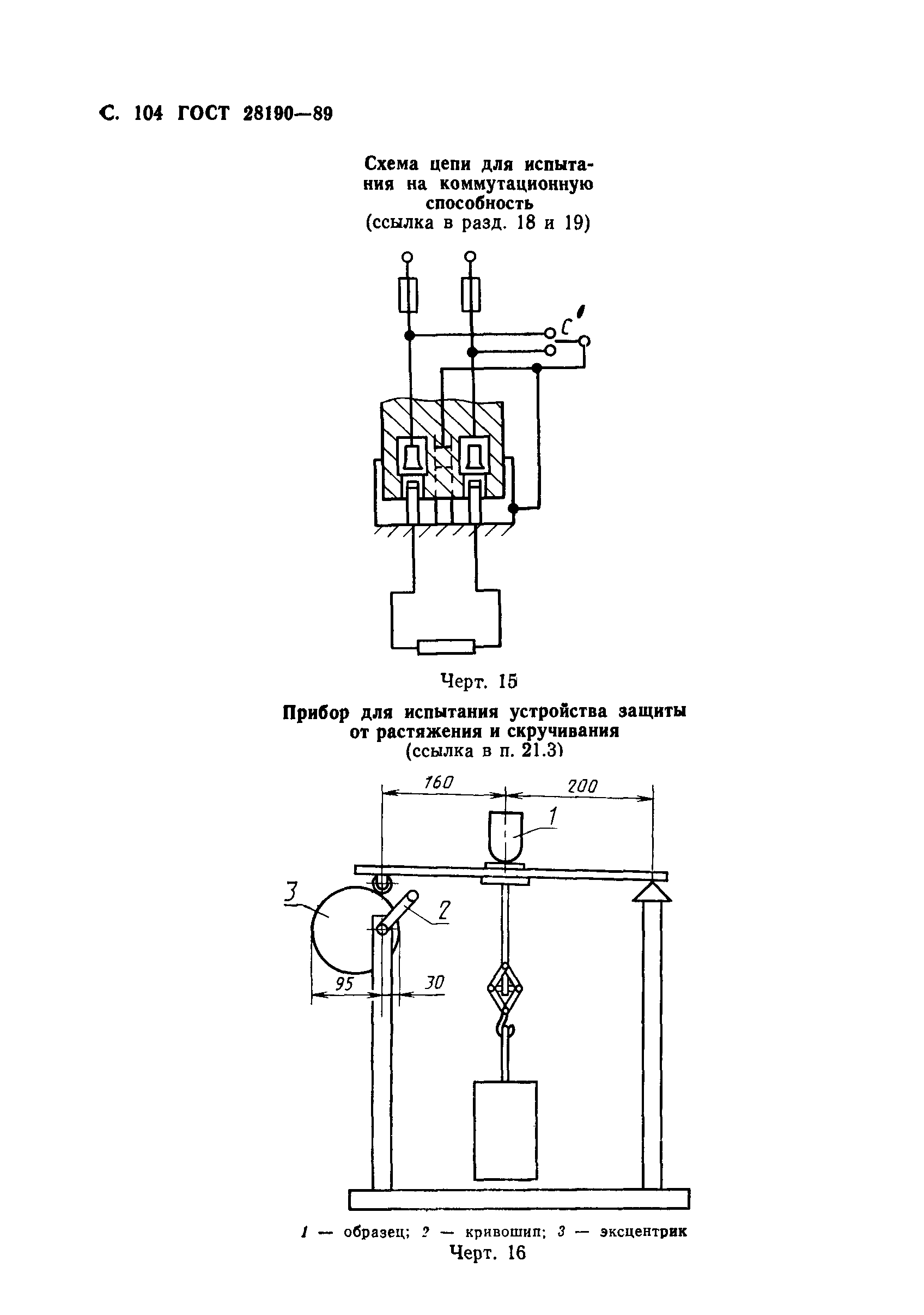
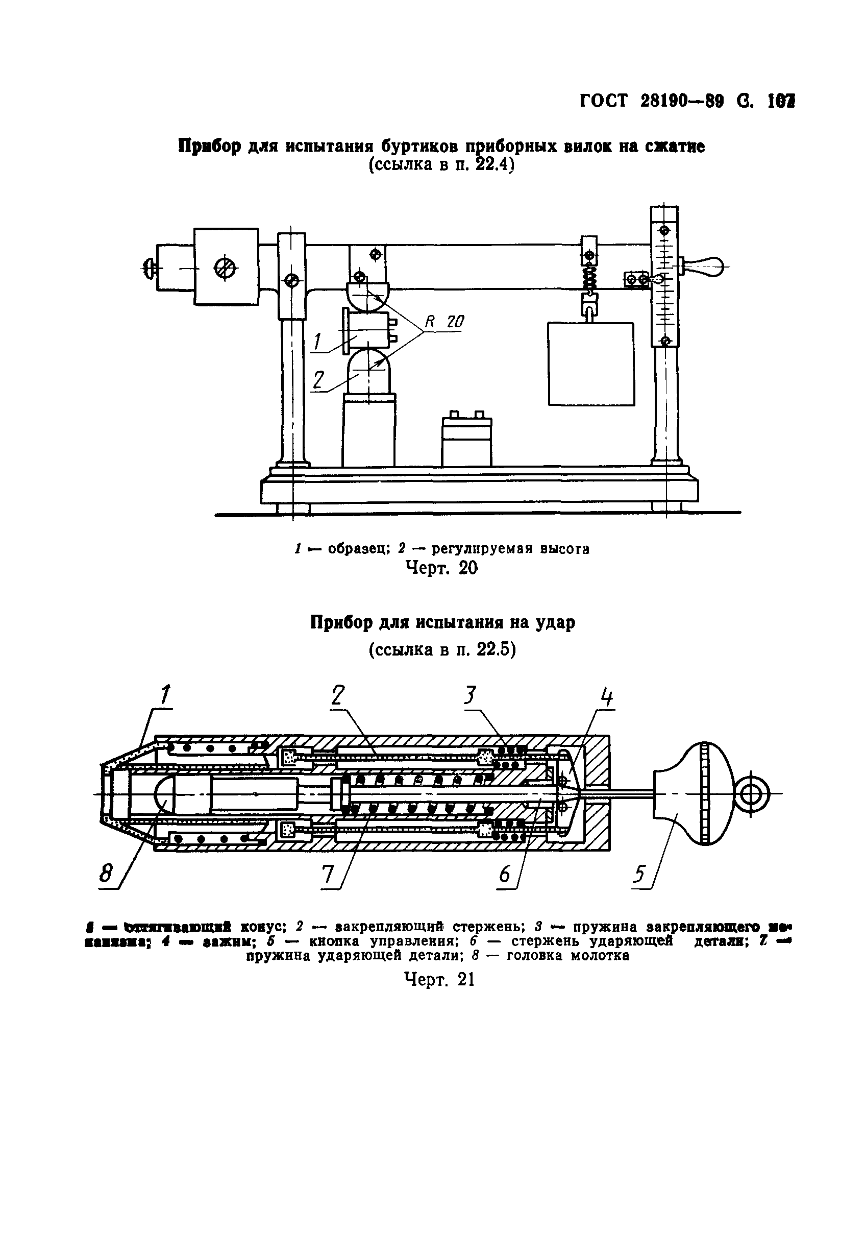
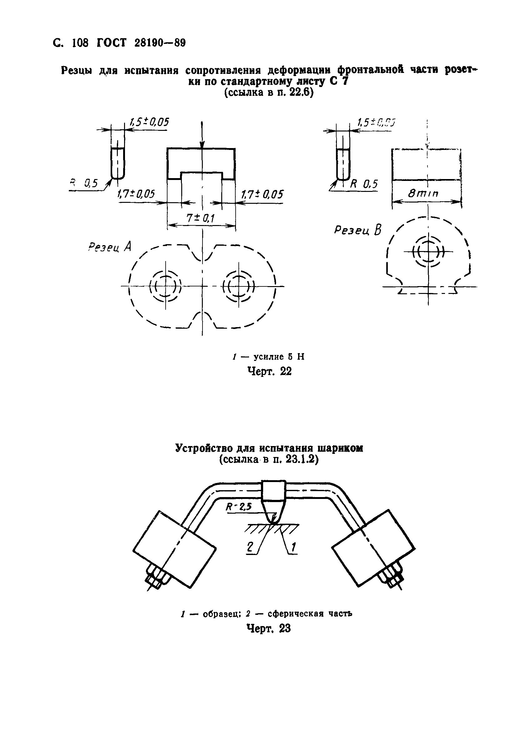
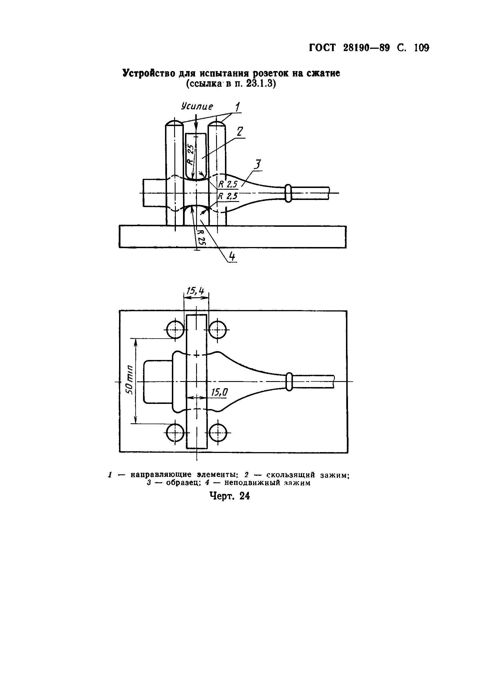
ГОСТ 28190-89 Соединители бытового и аналогичного назначения. Технические требования и методы испытаний
ГОСТ
Скачать ГОСТ в PDF или DOC бесплатно
Основная информация
Обозначение:
ГОСТ 28190-89
Статус:
Утратил силу в РФ
Тип:
ГОСТ
Название русское:
Соединители бытового и аналогичного назначения. Технические требования и методы испытаний
Название английское:
Appliance couplers for household and similar general purposes. Requirements and methods of tests
Даты и сроки
Дата издания:
01-01-90
Дата введения в действие:
06-30-90
Дата завершения срока действия:
01-01-01
Связи и замены
Заменяющий:
-
Изменения и переиздания
Список изменений:
№0 от (рег. ) «Поправка к изменению» №1 от (рег. ) «Срок действия продлен» №2 от (рег. ) «Срок действия продлен»
Описание стандарта
ГОСТ 28190-89 Соединители бытового и аналогичного назначения. Технические требования и методы испытаний
Страницы стандарта





















































































































