ГОСТы >
29.130.20 Низковольтная коммутационная аппаратура и аппаратура управления >
ГОСТ Р 50030.1-92
ГОСТ Р 50030.1-92 Низковольтная аппаратура распределения и управления. Часть 1. Общие требования
ГОСТ Р
Скачать ГОСТ в PDF или DOC бесплатно
Основная информация
Обозначение:
ГОСТ Р 50030.1-92
Статус:
Заменен
Тип:
ГОСТ Р
Название русское:
Низковольтная аппаратура распределения и управления. Часть 1. Общие требования
Название английское:
Low-voltage switchgear and controlgear. Part 1. General rules
Даты и сроки
Дата издания:
10-01-92
Дата введения в действие:
01-01-94
Дата завершения срока действия:
01-01-02
Применение и описание
Область и условия применения:
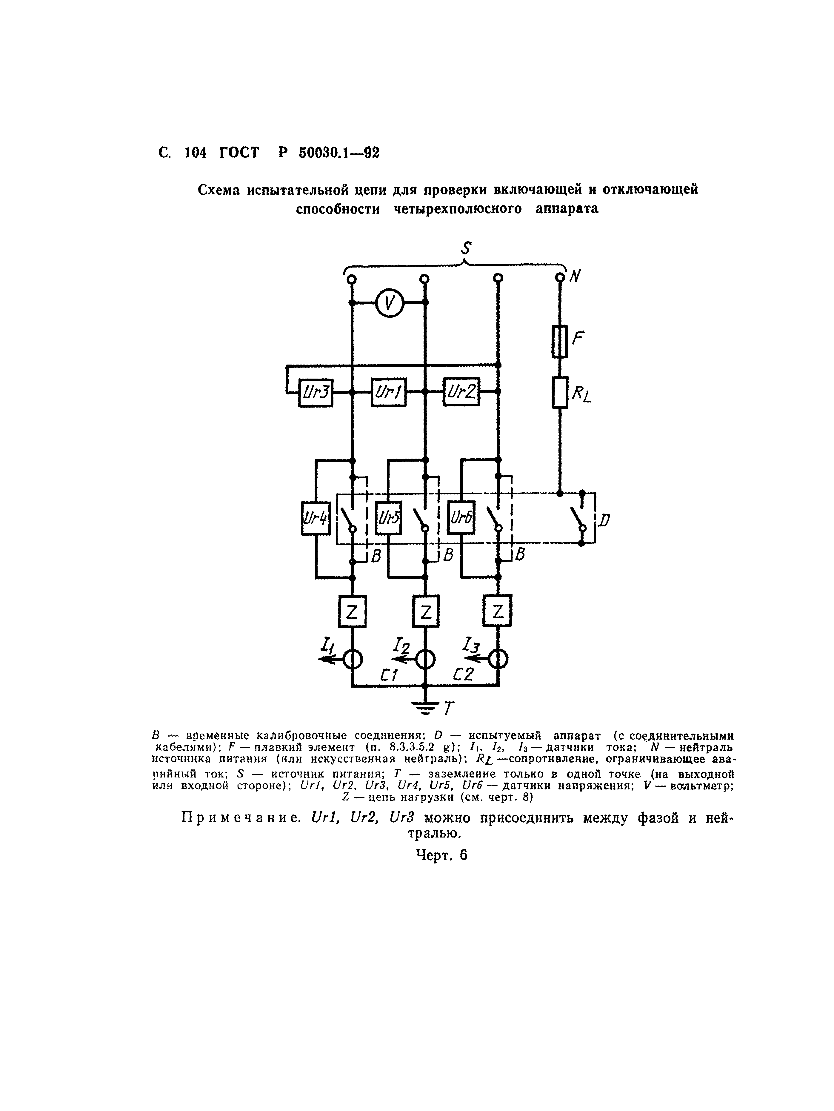
Настоящий стандарт распространяется на низковольтные аппараты распределения и управления (далее - аппараты), предназначенные для эксплуатации в электрических цепях с номинальным напряжением до 1000 В переменного тока или 1500 В постоянного тока. Настоящий стандарт распространяется на вновь разрабатываемую аппаратуру, а также аппаратуру, подлежащую сертификации
Связи и замены
Заменяющий:
ГОСТ Р 50030.1-2000
Описание стандарта
ГОСТ Р 50030.1-92 Низковольтная аппаратура распределения и управления. Часть 1. Общие требования
Страницы стандарта



























































































































































