ГОСТ 17616-82 Лампы электрические. Методы измерения электрических и световых параметров
ГОСТ
Скачать ГОСТ в PDF или DOC бесплатно
Основная информация
Обозначение:
ГОСТ 17616-82
Статус:
Утратил силу в РФ
Тип:
ГОСТ
Название русское:
Лампы электрические. Методы измерения электрических и световых параметров
Название английское:
Electric lamps. Measurements of electrical and luminous characteristics
Даты и сроки
Дата издания:
01-01-83
Дата введения в действие:
01-01-83
Дата завершения срока действия:
07-01-14
Применение и описание
Область и условия применения:
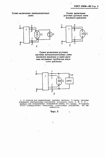
Настоящий стандарт распространяется на электрические лампы накаливания, люминесцентные низкого давления, ртутные дуговые высокого давления, натриевые высокого давления, ртутные металлогалогенные высокого давления и устанавливает методы измерения светового потока и электрических параметров, а также методы измерения силы света, яркости, цветовой температуры и пространственного светораспределения для ламп накаливания.Стандарт не распространяется на светоизмерительные лампы и лампы-фары
Связи и замены
Заменяющий:
-
Взамен:
ГОСТ 17616-80;ГОСТ 21430-75
Изменения и переиздания
Список изменений:
№0 от (рег. ) «Поправка к изменению» №1 от (рег. ) «Срок действия продлен» №2 от (рег. ) «Срок действия продлен» №3 от (рег. ) «Срок действия продлен»
Описание стандарта
ГОСТ 17616-82 Лампы электрические. Методы измерения электрических и световых параметров
Страницы стандарта

















































