ГОСТ 2023.1-88 Лампы для дорожных транспортных средств. Требования к размерам, электрическим и световым параметрам
ГОСТ
Скачать ГОСТ в PDF или DOC бесплатно
Основная информация
Обозначение:
ГОСТ 2023.1-88
Статус:
Действует
Тип:
ГОСТ
Название русское:
Лампы для дорожных транспортных средств. Требования к размерам, электрическим и световым параметрам
Название английское:
Lamps for road vehicles. Dimensional, electrical and luminous requirements
Даты и сроки
Дата издания:
07-01-97
Дата введения в действие:
01-01-90
Дата завершения срока действия:
-
Применение и описание
Область и условия применения:
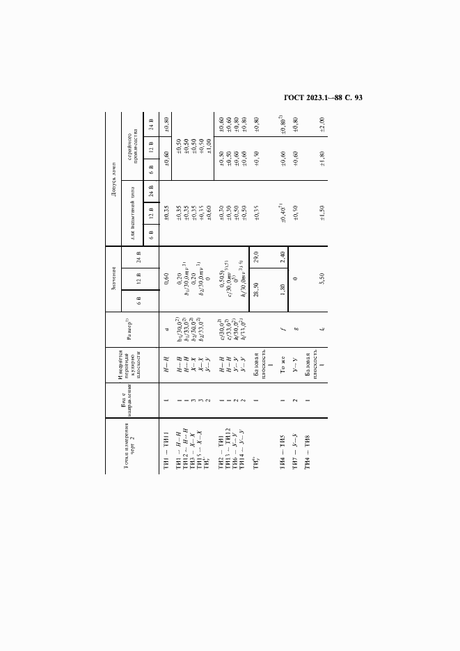
Настоящий стандарт распространяется на лампы накаливания, используемые в осветительных и светосигнальных приборах для дорожных транспортных средств, и устанавливает технические требования, методы испытаний, правила приемки и основные параметры (размеры, электрические и световые параметры)
Связи и замены
Заменяющий:
-
Взамен:
ГОСТ 2023-75
Изменения и переиздания
Список изменений:
№0 от (рег. ) «Поправка к изменению» №1 от (рег. ) «Срок действия продлен» №2 от (рег. ) «Срок действия продлен» №3 от (рег. ) «Срок действия продлен»
Описание стандарта
ГОСТ 2023.1-88 Лампы для дорожных транспортных средств. Требования к размерам, электрическим и световым параметрам
Страницы стандарта







































































































