ГОСТ 28712-90 Лампы накаливания для бытового и аналогичного общего освещения. Требования безопасности
ГОСТ
Скачать ГОСТ в PDF или DOC бесплатно
Основная информация
Обозначение:
ГОСТ 28712-90
Статус:
Утратил силу в РФ
Тип:
ГОСТ
Название русское:
Лампы накаливания для бытового и аналогичного общего освещения. Требования безопасности
Название английское:
Tungsten filament lamps for domestic and similar general lighting purposes. Safety requirements
Даты и сроки
Дата издания:
06-01-05
Дата введения в действие:
01-01-95
Дата завершения срока действия:
01-01-09
Применение и описание
Область и условия применения:
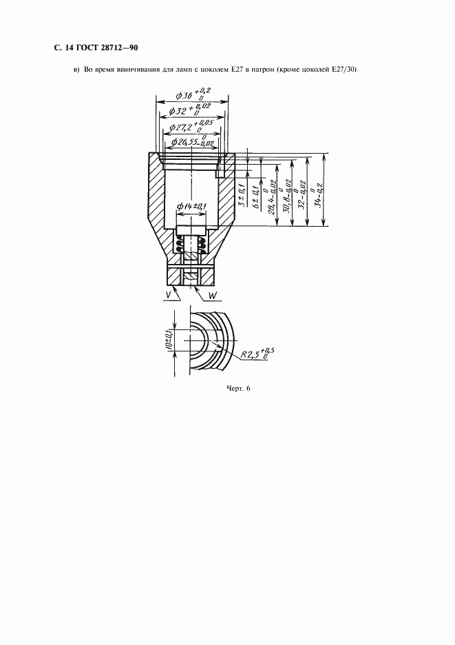
Настоящий стандарт устанавливает требования безопасности и взаимозаменяемости для ламп накаливания бытового и аналогичного общего освещения
Связи и замены
Заменяющий:
-
Изменения и переиздания
Список изменений:
№0 от (рег. ) «Поправка к изменению»
Описание стандарта
ГОСТ 28712-90 Лампы накаливания для бытового и аналогичного общего освещения. Требования безопасности
Страницы стандарта





























