ГОСТ Р МЭК 62560-2011 Лампы светодиодные со встроенным устройством управления для общего освещения на напряжения свыше 50 В. Требования безопасности
ГОСТ Р МЭК
Скачать ГОСТ в PDF или DOC бесплатно
Основная информация
Обозначение:
ГОСТ Р МЭК 62560-2011
Статус:
Действует
Тип:
ГОСТ Р МЭК
Название русское:
Лампы светодиодные со встроенным устройством управления для общего освещения на напряжения свыше 50 В. Требования безопасности
Название английское:
Self-ballasted LED-lamps for general lighting services by voltage 50 V. Safety specifications
Даты и сроки
Дата издания:
10-25-12
Дата введения в действие:
07-01-12
Дата завершения срока действия:
-
Применение и описание
Область и условия применения:
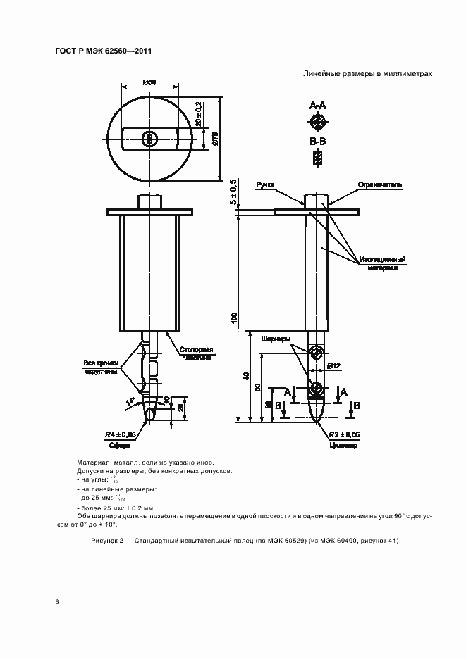
Настоящий стандарт устанавливает требования безопасности и взаимозаменяемости, а также требования к методам испытаний и условиям их проведения, необходимые для светодиодных ламп с неразъемными средствами для стабильной работы (светодиодные лампы со встроенными устройствами управления), и предназначенных для бытового и аналогичного общего освещения, имеющих: - номинальную мощность до 60 Вт; - номинальное напряжение от 5 до 250 В; - цоколи в соответствии с таблицей 1. Требования настоящего стандарта относятся только к испытаниям типа
Связи и замены
Заменяющий:
-
Описание стандарта
ГОСТ Р МЭК 62560-2011 Лампы светодиодные со встроенным устройством управления для общего освещения на напряжения свыше 50 В. Требования безопасности
Страницы стандарта























