ГОСТ 12126-86 Машины электрические малой мощности. Установочные и присоединительные размеры
ГОСТ
Скачать ГОСТ в PDF или DOC бесплатно
Основная информация
Обозначение:
ГОСТ 12126-86
Статус:
Действует
Тип:
ГОСТ
Название русское:
Машины электрические малой мощности. Установочные и присоединительные размеры
Название английское:
Small power electric machines. Mounting dimensions
Даты и сроки
Дата издания:
06-20-90
Дата введения в действие:
01-01-88
Дата завершения срока действия:
-
Применение и описание
Область и условия применения:
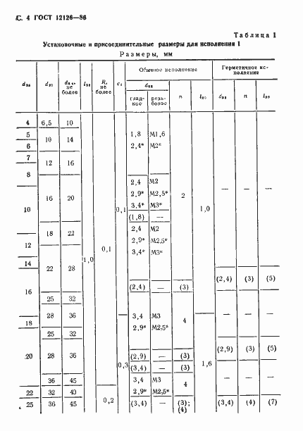
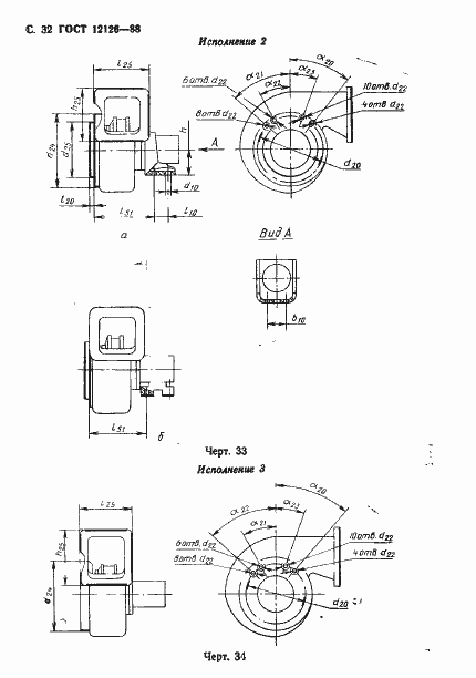
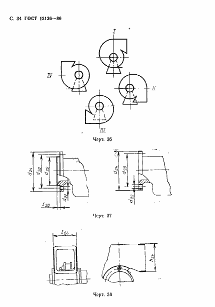
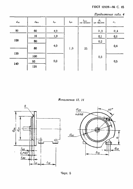
Настоящий стандарт распространяется на вновь проектируемые и модернизируемые ( в части установочных и присоединительных размеров) электрические машины малой мощности с высотой оси вращения h или условной высотой оси вращения h` до 71 мм , в том числе на электровентиляторы осевые единого и встроенного исполнений и радиальные (центробежные) встроенного исполнения с номером вентилятора до 4 и устанавливает их установочные и присоединительные размеры. Стандарт не распространяется на электрические машины: изготовляемые по ГОСТ 3940, ГОСТ 9443, ГОСТ 9944; встраиваемые в виде отдельных сборочных единиц; осевые и радиальные вентиляторы без наружных корпусов, переносные, индивидуального охлаждения, с пылеотделительными устройствами, радиальные прямоточные вентиляторы, а также поставляемые отдельными сборочными единицами
Связи и замены
Заменяющий:
-
Взамен:
ГОСТ 12126-71
Изменения и переиздания
Список изменений:
№1 от (рег. ) «Поправка»
Описание стандарта
ГОСТ 12126-86 Машины электрические малой мощности. Установочные и присоединительные размеры
Страницы стандарта
















































