ГОСТ 17494-87 Машины электрические вращающиеся. Классификация степеней защиты, обеспечиваемых оболочками вращающихся электрических машин
ГОСТ
Скачать ГОСТ в PDF или DOC бесплатно
Основная информация
Обозначение:
ГОСТ 17494-87
Статус:
Заменен
Тип:
ГОСТ
Название русское:
Машины электрические вращающиеся. Классификация степеней защиты, обеспечиваемых оболочками вращающихся электрических машин
Название английское:
Rotating electrical machines. Classification of degrees of protection provided by enclosures for rotating machines
Даты и сроки
Дата издания:
11-05-87
Дата введения в действие:
06-30-88
Дата завершения срока действия:
01-01-13
Применение и описание
Область и условия применения:
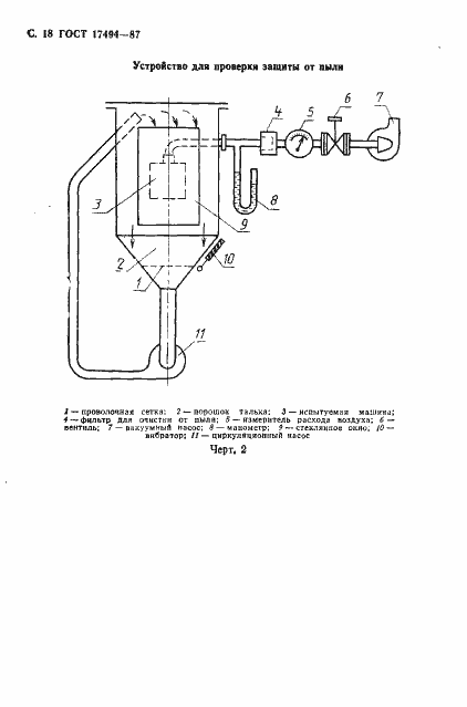
Настоящий стандарт классифицирует степени защити, обеспечиваемые оболочками электрических вращающихся машин без ограничения мощности, частоты вращения и напряжения. Стандарт устанавливает степени защиты персонала от прикосновения к токоведущим или движущимся частям, находящимся внутри машины, степени защиты от проникновения твердых инородных тел и воды внутрь машины, а также обозначения и методы испытаний степеней защиты. Стандарт устанавливает требования, которым должны удовлетворять защитные оболочки. Стандарт распространяется только на оболочки, которые во всех других отношениях соответствуют их назначению, материалы и конструкция которых в нормальных условиях эксплуатации обеспечивают неизменность какой-либо степени защиты, предписанной настоящим стандартом. Стандарт не устанавливает степени защиты машин от механических повреждений или от таких воздействий как влажность (возникающая, например, в результате конденсации), коррозионные пары, плесневые грибы и т. п., а также не указывает способов защиты машин, предназначенных для использования во взрывоопасной среде
Связи и замены
Заменяющий:
ГОСТ IEC 60034-5-2011
Взамен:
ГОСТ 17494-72
Изменения и переиздания
Список изменений:
№1 от (рег. ) «Срок действия продлен»
Описание стандарта
ГОСТ 17494-87 Машины электрические вращающиеся. Классификация степеней защиты, обеспечиваемых оболочками вращающихся электрических машин
Страницы стандарта
























