ГОСТ 20839-75 Машины электрические вращающиеся с высотой оси вращения от 450 до 1000 мм. Установочно-присоединительные размеры
ГОСТ
Скачать ГОСТ в PDF или DOC бесплатно
Основная информация
Обозначение:
ГОСТ 20839-75
Статус:
Действует
Тип:
ГОСТ
Название русское:
Машины электрические вращающиеся с высотой оси вращения от 450 до 1000 мм. Установочно-присоединительные размеры
Название английское:
Rotating electrical machinery with shaft height from 450 to 1000 mm. Mounting dimensions
Даты и сроки
Дата издания:
12-01-87
Дата введения в действие:
07-01-76
Дата завершения срока действия:
-
Применение и описание
Область и условия применения:
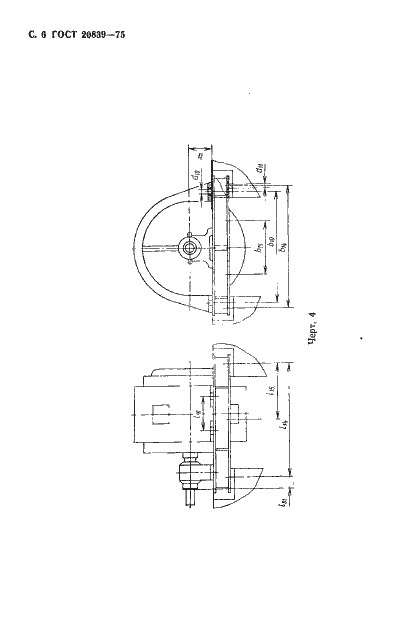
Настоящий стандарт распространяется на вращающиеся электрические машины с высотой оси вращения от 450 до 1000 мм (в том числе условной высотой) по ГОСТ 13267-73 с фланцевым креплением, на лапах, на лапах и плите с одним или двумя стояковыми подшипниками. Стандарт не распространяется на тяговые электрические машины
Связи и замены
Заменяющий:
-
Изменения и переиздания
Список изменений:
№1 от (рег. ) «Срок действия продлен» №2 от (рег. ) «Срок действия продлен» №3 от (рег. ) «Срок действия продлен»
Описание стандарта
ГОСТ 20839-75 Машины электрические вращающиеся с высотой оси вращения от 450 до 1000 мм. Установочно-присоединительные размеры
Страницы стандарта












