ГОСТ 27222-91 Машины электрические вращающиеся. Измерение сопротивления обмоток машин переменного тока без отключения от сети
ГОСТ
Скачать ГОСТ в PDF или DOC бесплатно
Основная информация
Обозначение:
ГОСТ 27222-91
Статус:
Действует
Тип:
ГОСТ
Название русское:
Машины электрические вращающиеся. Измерение сопротивления обмоток машин переменного тока без отключения от сети
Название английское:
Ratating electrical machines. Measurement of the winding resistance of an a.c. machine without switching-off net work
Даты и сроки
Дата издания:
04-11-91
Дата введения в действие:
01-01-92
Дата завершения срока действия:
-
Применение и описание
Область и условия применения:
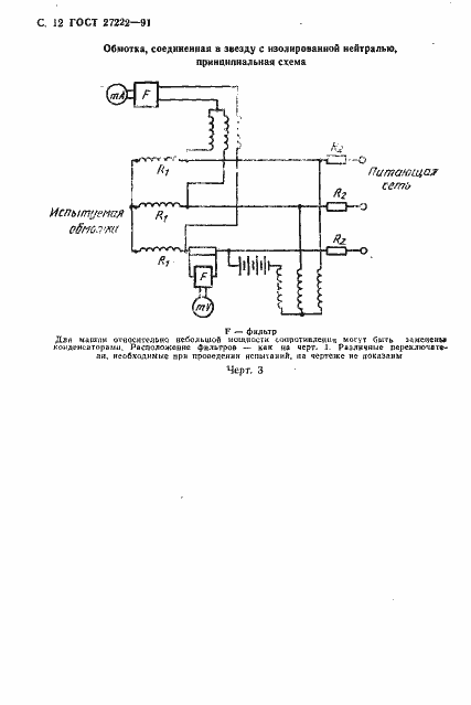
Настоящий стандарт устанавливает метод измерения сопротивления обмоток при работе машины (необходимость в экстраполяции отпадает) и распространяется на низковольтные и высоковольтные машины любой мощности
Связи и замены
Заменяющий:
-
Взамен:
ГОСТ 27222-87
Описание стандарта
ГОСТ 27222-91 Машины электрические вращающиеся. Измерение сопротивления обмоток машин переменного тока без отключения от сети
Страницы стандарта



















