ГОСТ 30262-95 Методы определения физических свойств материалов для щеток электрических машин
ГОСТ
Скачать ГОСТ в PDF или DOC бесплатно
Основная информация
Обозначение:
ГОСТ 30262-95
Статус:
Действует
Тип:
ГОСТ
Название русское:
Методы определения физических свойств материалов для щеток электрических машин
Название английское:
Test procedures for determining physical properties of brush materials for electrical machines
Даты и сроки
Дата регистрации:
04-26-95
Дата издания:
03-21-96
Дата введения в действие:
01-01-97
Дата завершения срока действия:
-
Применение и описание
Область и условия применения:
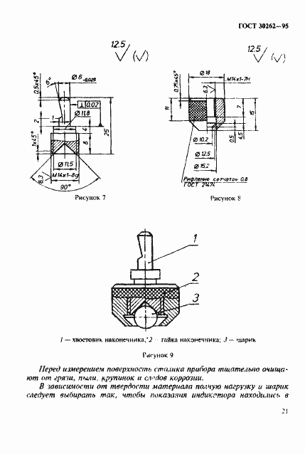
Настоящий стандарт распространяется на щетки электрических машин и устанавливает методы определения физико-химических свойств щеточных материалов
Связи и замены
Заменяющий:
-
Взамен:
ГОСТ 9506.3-74;ГОСТ 9506.4-74;ГОСТ 9506.5-74
Описание стандарта
ГОСТ 30262-95 Методы определения физических свойств материалов для щеток электрических машин
Страницы стандарта












































