ГОСТ Р 53617-2009 Щетки электрических машин. Конструкция. Типы и размеры
ГОСТ Р
Скачать ГОСТ в PDF или DOC бесплатно
Основная информация
Обозначение:
ГОСТ Р 53617-2009
Статус:
Действует
Тип:
ГОСТ Р
Название русское:
Щетки электрических машин. Конструкция. Типы и размеры
Название английское:
Carbon brushes for electrical machines. Construction. Types and dimensions
Даты и сроки
Дата издания:
01-24-11
Дата введения в действие:
01-01-11
Дата завершения срока действия:
-
Применение и описание
Область и условия применения:
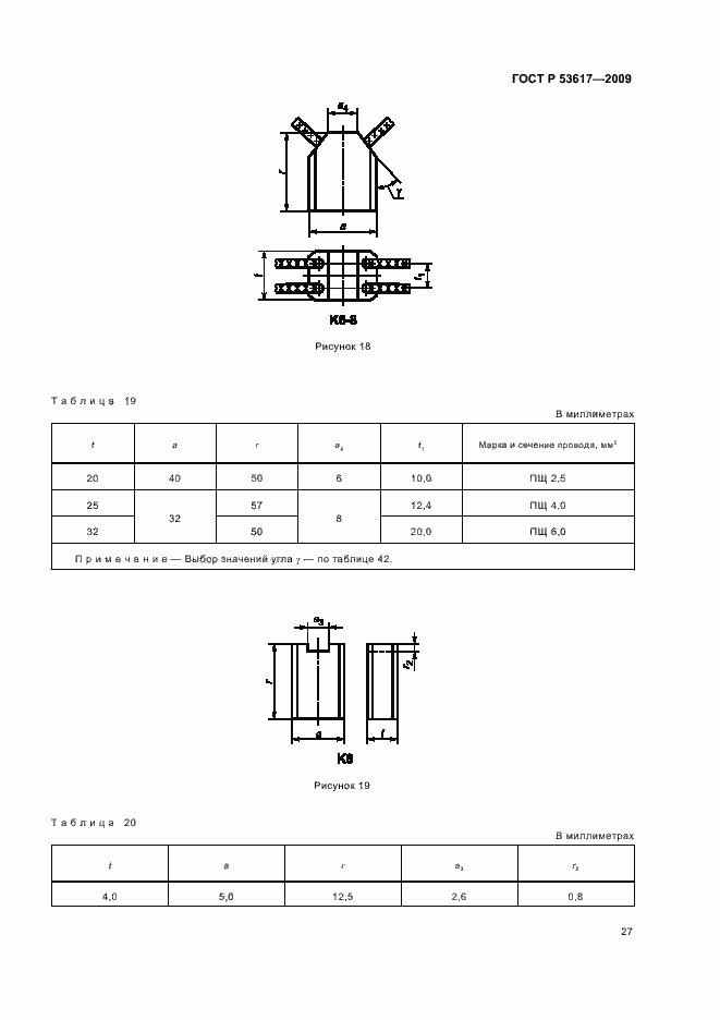
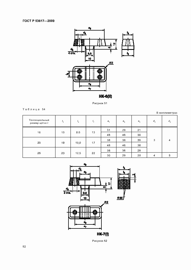
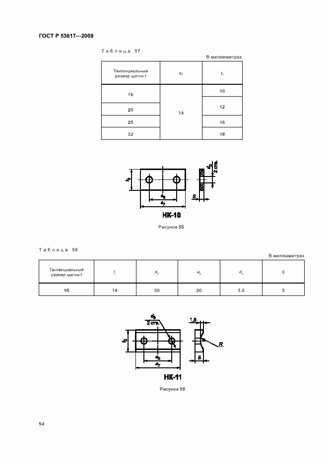
Настоящий стандарт распространяется на щетки, применяемые для подвода и отвода тока на коллекторах и контактных кольцах электрических машин, а также на накладки и наконечники, применяемые для армирования щеток. Стандарт устанавливает конструкции, типы и размеры щеток, накладок и наконечников. Стандарт не распространяется на щетки, накладки и наконечники, применяемые в электрических машинах военной техники
Связи и замены
Заменяющий:
-
Описание стандарта
ГОСТ Р 53617-2009 Щетки электрических машин. Конструкция. Типы и размеры
Страницы стандарта






































































